GM Service Manual Online
For 1990-2009 cars only
Makes
🢒
Cadillac
🢒
2002
🢒
DeVille
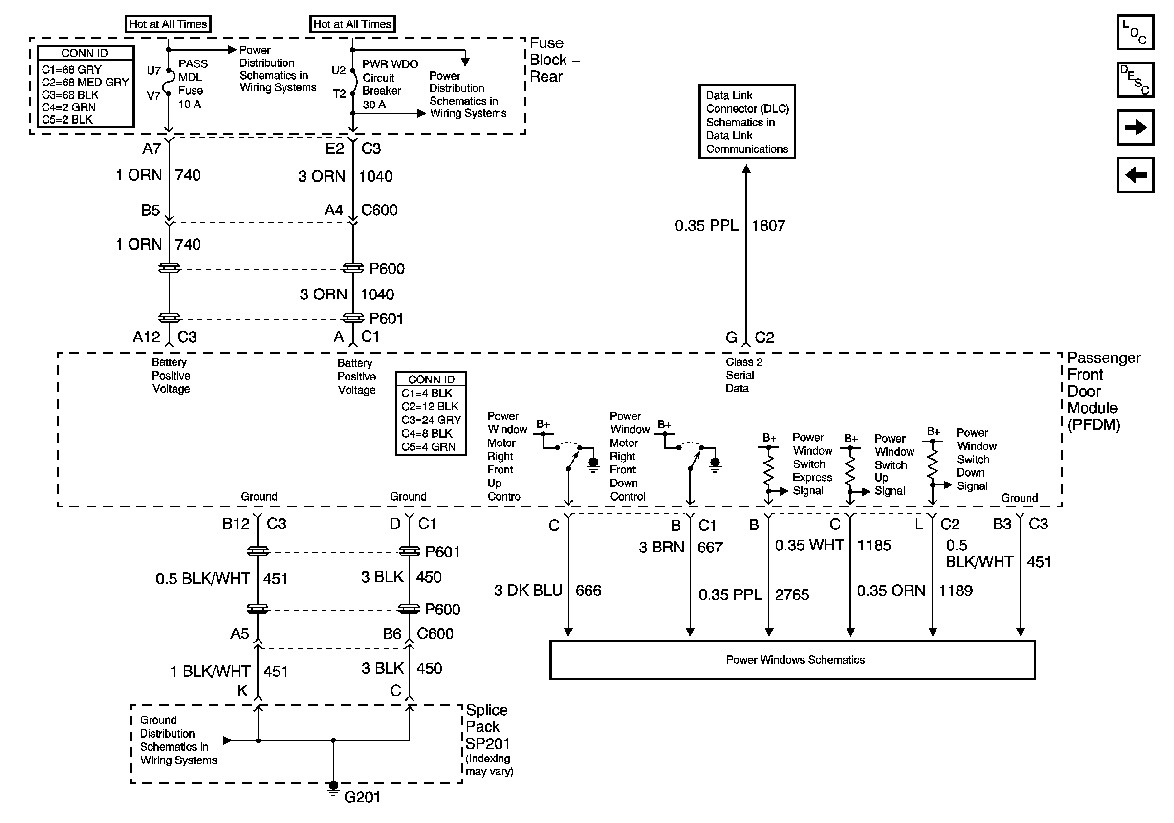
🢒 Passenger Front Door Module (PFDM) Power, Ground Inputs and Outputs1 of 2
Passenger Front Door Module (PFDM) Power, Ground Inputs and Outputs1 of 2
Passenger Front Door Module (PFDM) Power, Ground Inputs and Outputs 1 of 2
Master Electrical Component List
Power Door Locks Description and Operation
Passenger Front Door Module (PFDM) Power, Ground Inputs and Outputs2 of 2
Driver Door Module (DDM) Power, Ground Inputs and Outputs 2 of 2
HVAC BLO, DRV MDL, PASS MDL, PWR TT, HTDST LR, HTDST RR, HTDST RF, and DIM Fuses
PWR Window Circuit Breaker
Class 2 Serial Data (2 of 3)
G201 1 of 3
Front Passenger Power Window w/o Express and RR Passenger Power Window