GM Service Manual Online
For 1990-2009 cars only
Makes
🢒
Cadillac
🢒
2002
🢒
DeVille
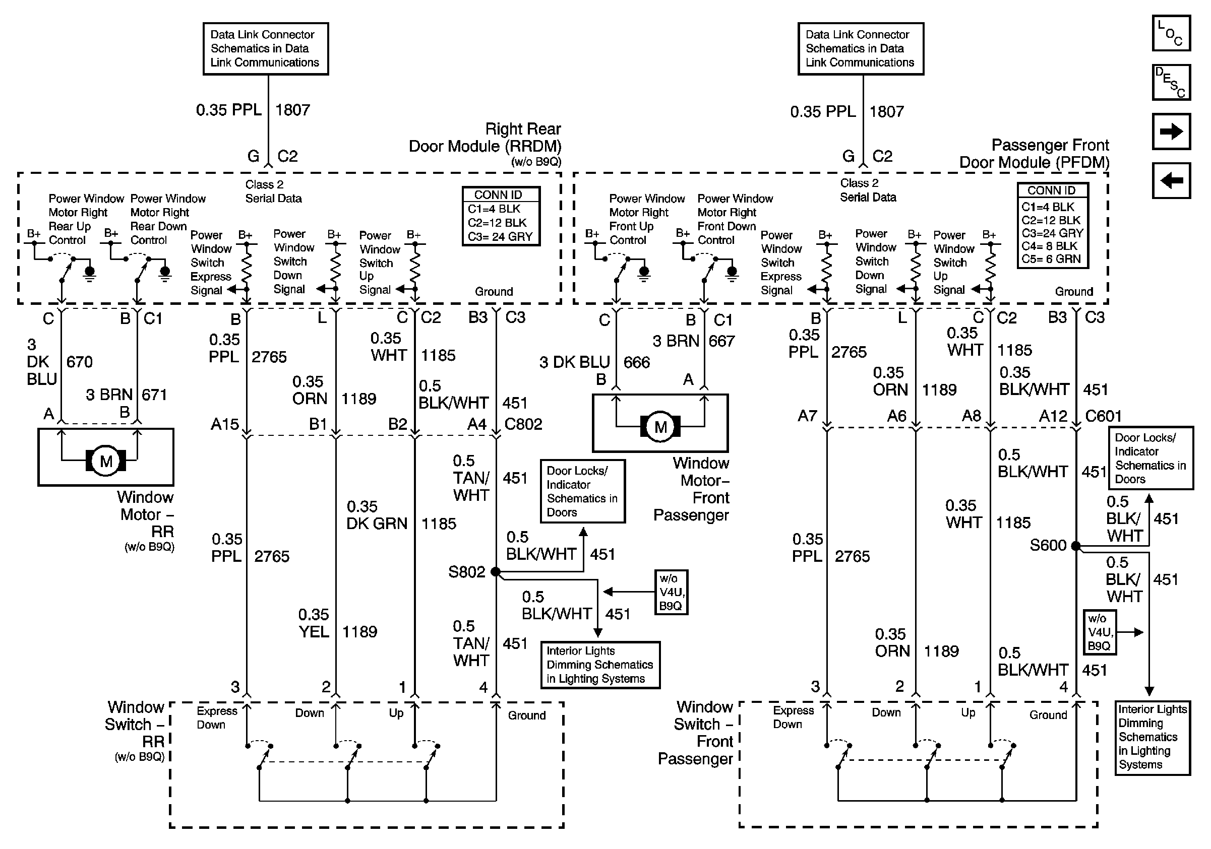
🢒 Front Passenger Power Window w/o Express and RR Passenger Power Window
Front Passenger Power Window w/o Express and RR Passenger Power Window
Front Passenger Power Window w/o Express and RR Passenger Power Window
Master Electrical Component List
Power Windows Description and Operation
Driver Power Window w/Express
Driver Power Window w/o Express and LR Passenger Power Window
Class 2 Serial Data (2 of 3)
Class 2 Serial Data (2 of 3)
Right Front Door Power Door Lock
Front Door Dimming
Rear Door Dimming
Right Rear Door Power Door Lock (w/o B9Q)