GM Service Manual Online
For 1990-2009 cars only
Makes
🢒
Cadillac
🢒
2002
🢒
DeVille
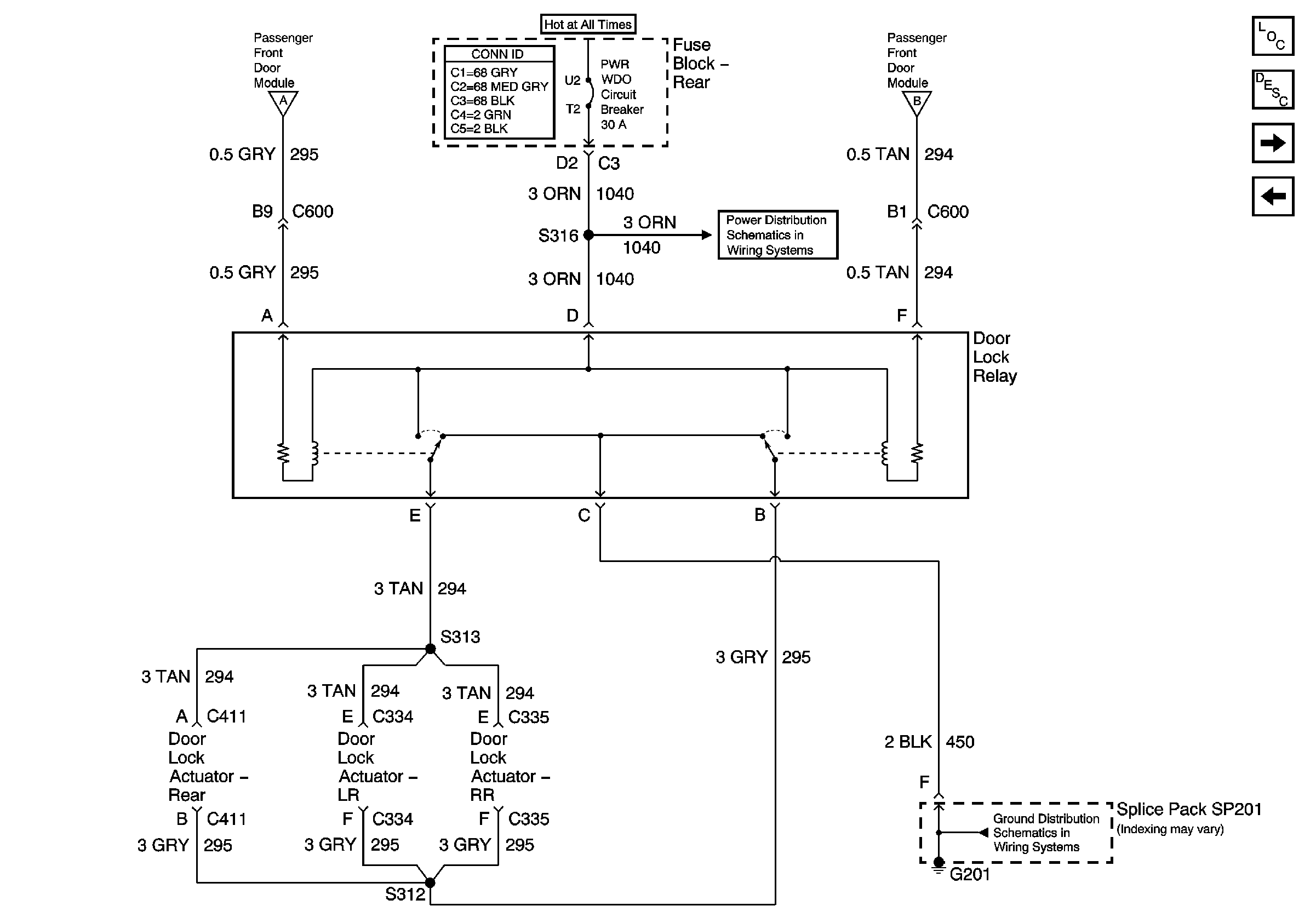
🢒 Right Front Door Power Door Lock (w/B9Q)
Right Front Door Power Door Lock (w/B9Q)
Right Front Door Power Door Lock (w/B9Q)
Master Electrical Component List
Power Door Locks Description and Operation
Right Front Door Power Door Lock
Left Rear Door Power Door Lock
Right Front Door Power Door Lock
Right Front Door Power Door Lock
PWR Window Circuit Breaker
G201 3 of 3 and G202