GM Service Manual Online
For 1990-2009 cars only
Makes
🢒
Cadillac
🢒
2005
🢒
DeVille
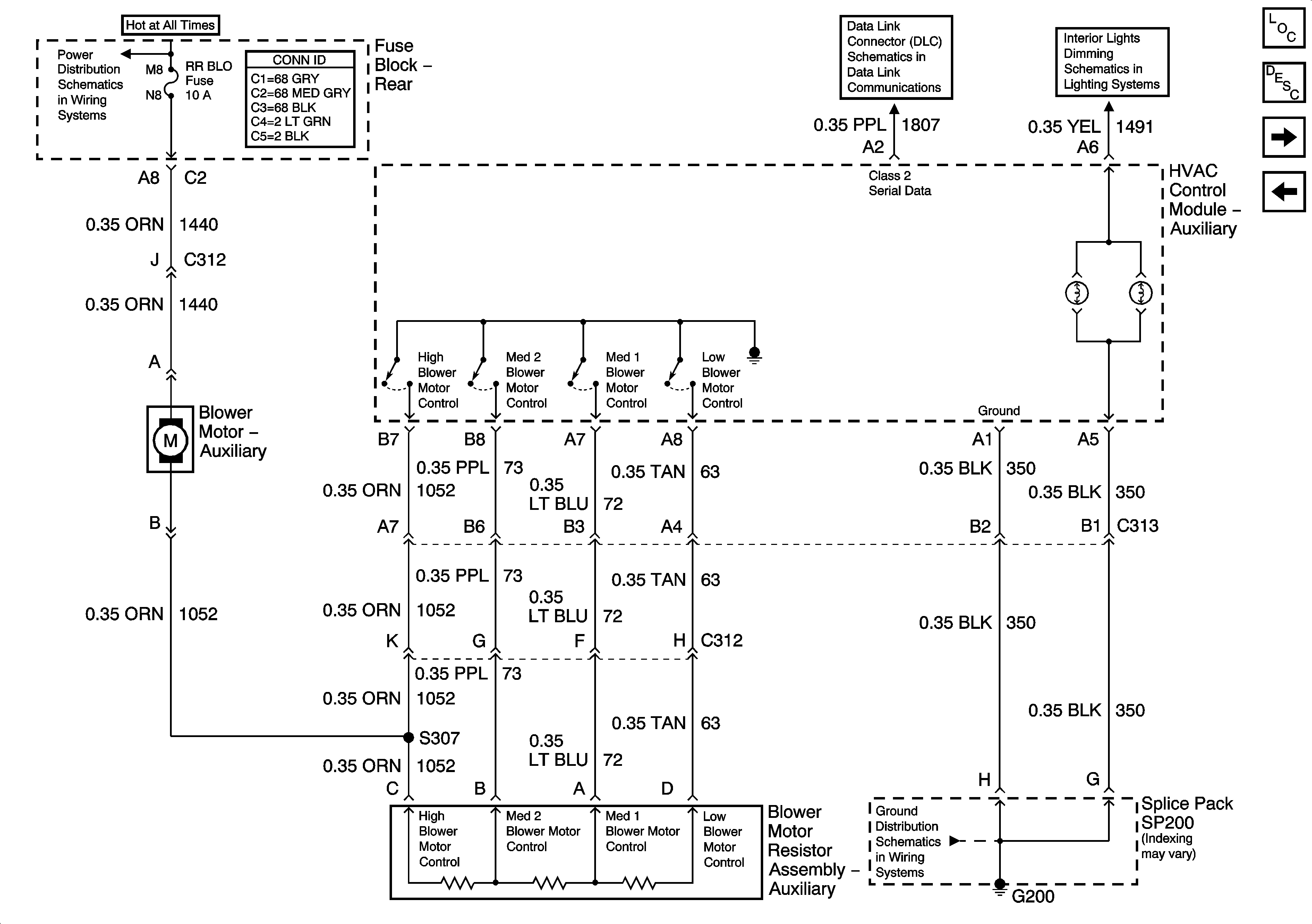
🢒 Rear Blower Motor (Deville/DHS)
Rear Blower Motor (Deville/DHS)
Rear Blower Motor (Deville/DHS)
Master Electrical Component List
Air Delivery Description and Operation
Rear Blower Motor (DTS)
Front Blower Motor
Rear Fuse Block Battery Voltage
Class 2 Serial Data (3 of 3)
Console Dimming
G200