GM Service Manual Online
For 1990-2009 cars only
Makes
🢒
Cadillac
🢒
2005
🢒
DeVille
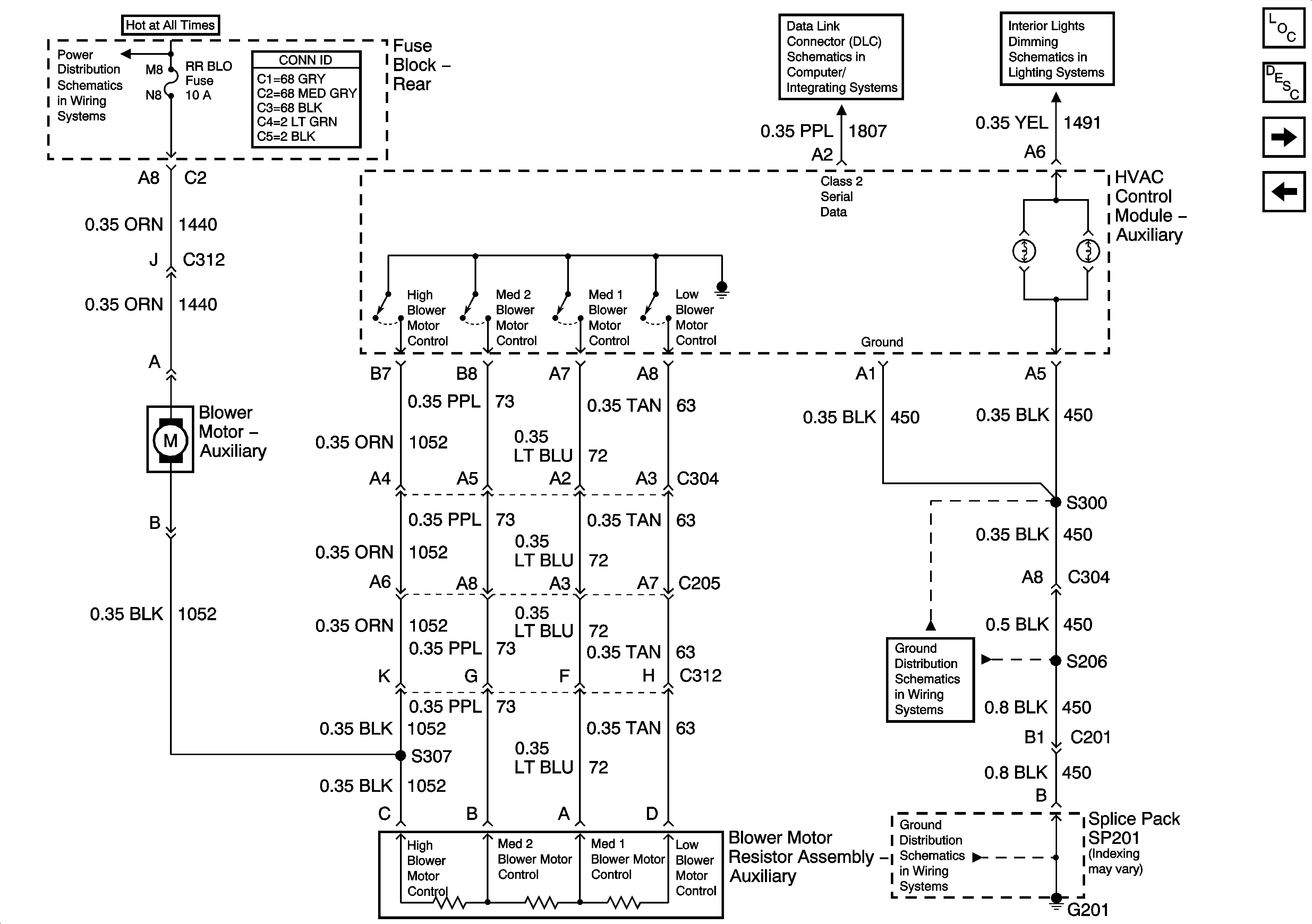
🢒 Rear Blower Motor (DTS)
Rear Blower Motor (DTS)
Rear Blower Motor (DTS)
Master Electrical Component List
Air Delivery Description and Operation
A/C Compressor Control
Rear Blower Motor (Deville/DHS)
RR BLO, RRDR MDL, HVAC BAT, STOP LP, IGN SW, and TSIG/HAZ Fuses
Class 2 Serial Data (3 of 3)
Console Dimming
G201 - 2 of 3
G201 - 2 of 3