GM Service Manual Online
For 1990-2009 cars only
Makes
🢒
Cadillac
🢒
2005
🢒
DeVille
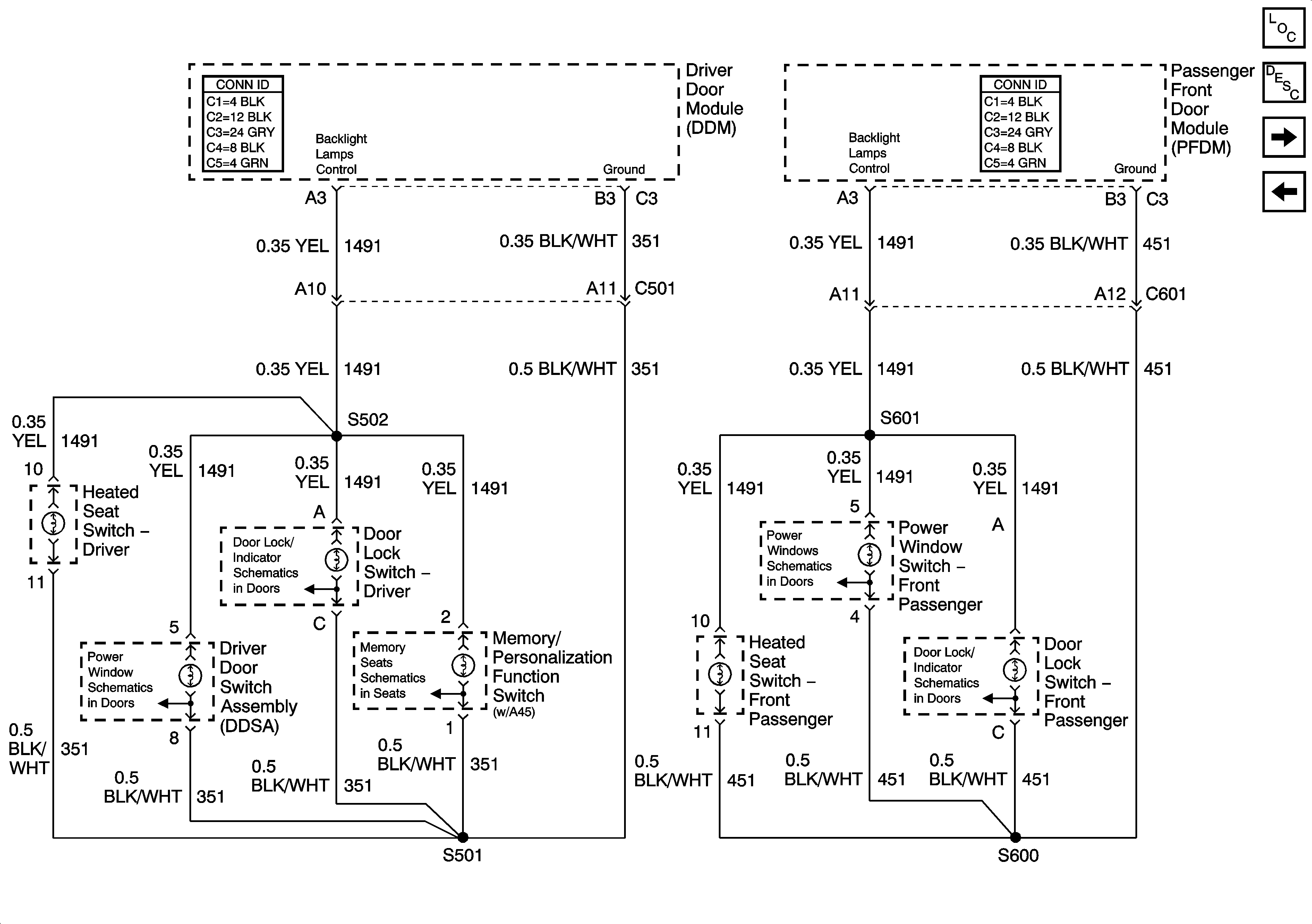
🢒 Front Door Dimming
Front Door Dimming
Front Door Dimming
Master Electrical Component List
Interior Lighting Systems Description and Operation
Middle Door Dimming
Console Dimming
Left Power Windows
Driver Door Power Door Lock
Memory/Personalization Function Switch (A45)
Right Power Windows
Right Front Door Power Door Lock