GM Service Manual Online
For 1990-2009 cars only
Makes
🢒
Cadillac
🢒
2005
🢒
DeVille
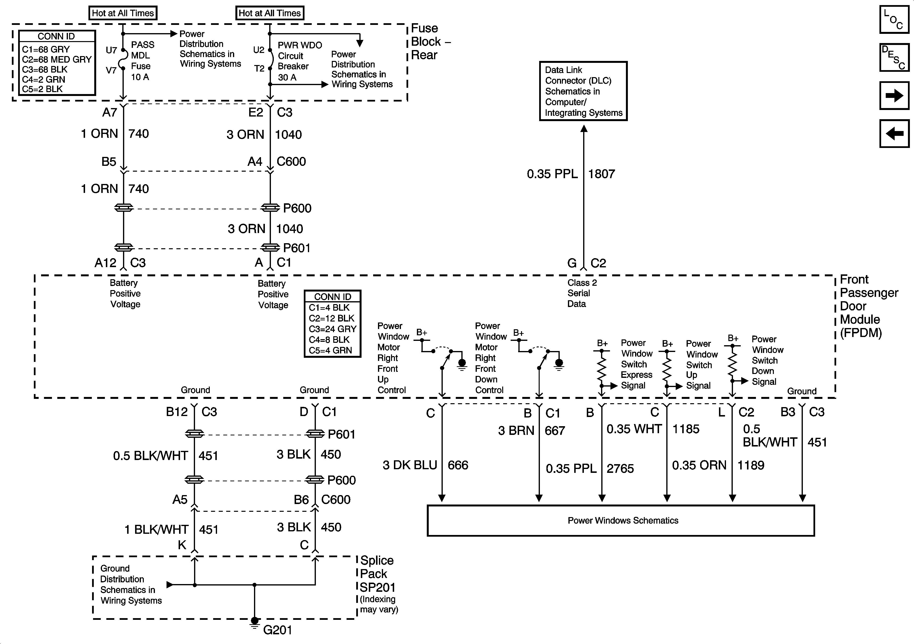
🢒 Front Passenger Door Module (FPDM) Power, Ground, Inputs and Outputs - 1 of 2
Front Passenger Door Module (FPDM) Power, Ground, Inputs and Outputs - 1 of 2
Front Passenger Door Module (FPDM) Power, Ground Inputs and Outputs - 1 of 2
Master Electrical Component List
Power Door Locks Description and Operation
Front Passenger Door Module (FPDM) Power, Ground, Inputs and Outputs - 2 of 2
Driver Door Module (DDM) Inputs and Outputs - 2 of 2
HVAC BLO, DRV MDL, PASS MDL, PWR TT, HTDST LR, HTDST RR, HTDST RF, and DIM Fuses
PWR WDO Circuit Breaker
Class 2 Serial Data (2 of 3)
G201 - 1 of 3
Right Power Windows