GM Service Manual Online
For 1990-2009 cars only
Makes
🢒
Cadillac
🢒
2000
🢒
Eldorado
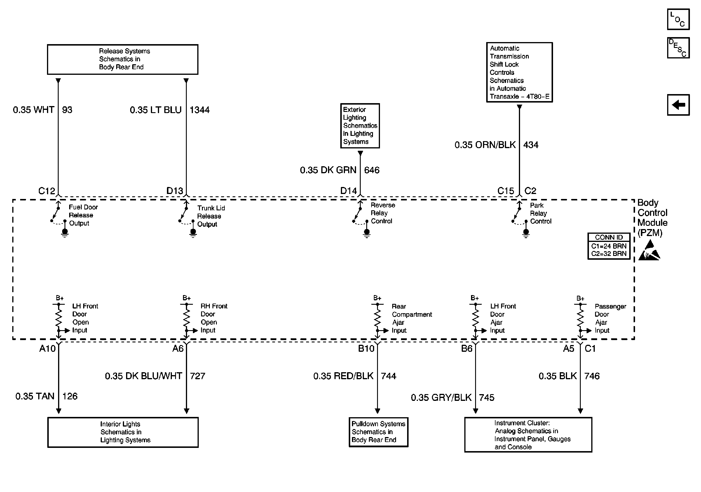
🢒 Body Control Module Inputs and Outputs (4 of 4)
Body Control Module Inputs and Outputs (4 of 4)
Body Control Module Inputs and Outputs (4 of 4)
Body Control Module Components
Body Control Module Inputs and Outputs (3 of 4)
Release Systems
Backup Lamps
Shift Interlock Actuator
Handling ESD Sensitive Parts Notice
Inputs
Pulldown System Schematics
Light Switches
Body Control System Description