GM Service Manual Online
For 1990-2009 cars only
Makes
🢒
Cadillac
🢒
2000
🢒
Eldorado
🢒 Body Control Module Inputs and Outputs (3 of 4)
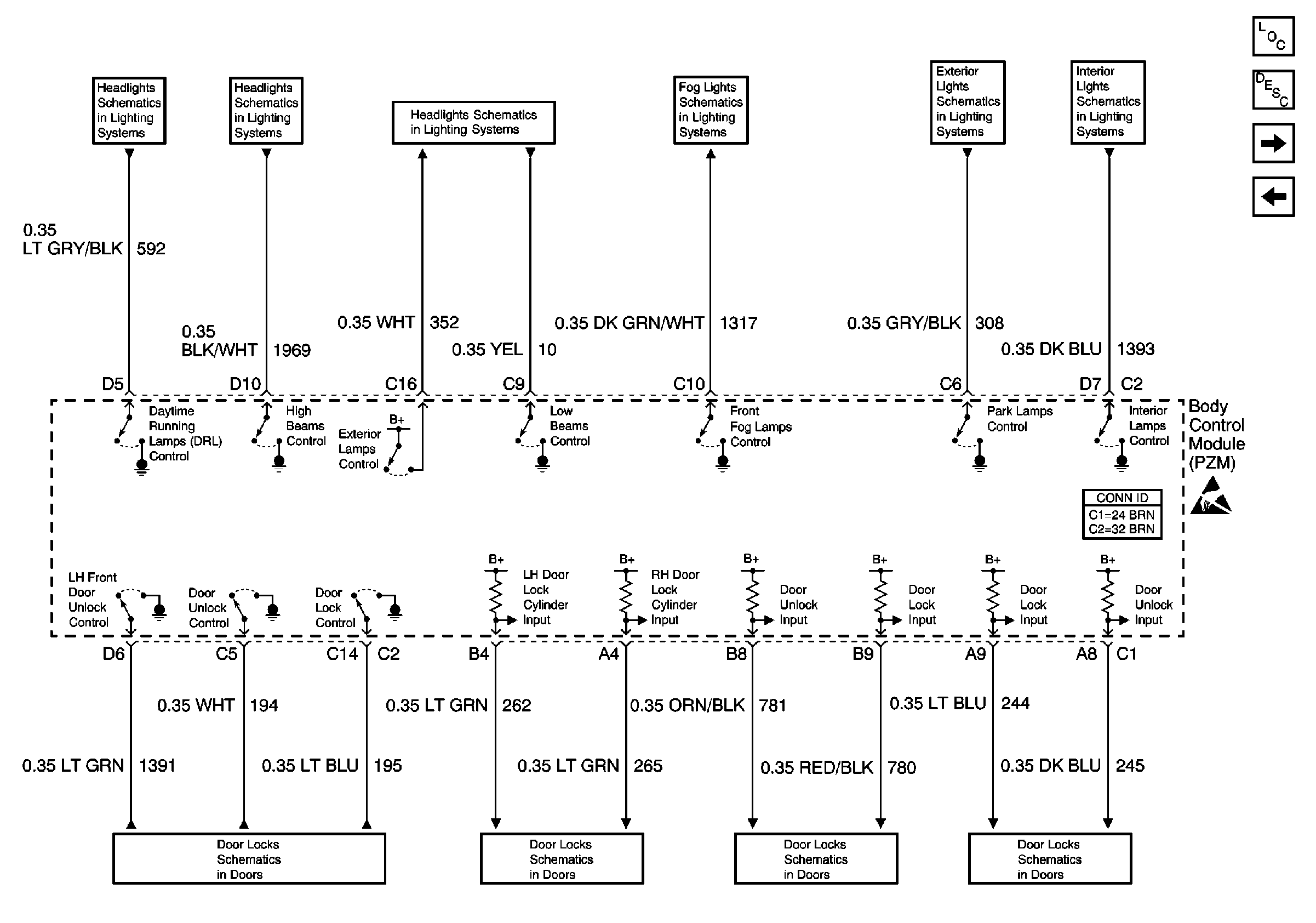
Body Control Module Inputs and Outputs (3 of 4)
Body Control Module Inputs and Outputs (3 of 4)
Body Control Module Inputs and Outputs (4 of 4)
Body Control Module Inputs and Outputs (2 of 4)
Headlamp Switch and Headlamp Control
Headlamps
Daytime Running Lamps
Headlamp Switch and Park Lamp Control
Fog Lamps
Power Door Lock switches
Body Control System Description
Body Control Module Components
Power Door Lock switches
Door Lock Cylinder Switches
Power Door Locks
Door Courtesy, IP Compartment, and Rear Compartment Lamps
Handling ESD Sensitive Parts Notice