GM Service Manual Online
For 1990-2009 cars only
Makes
🢒
Cadillac
🢒
2001
🢒
Eldorado
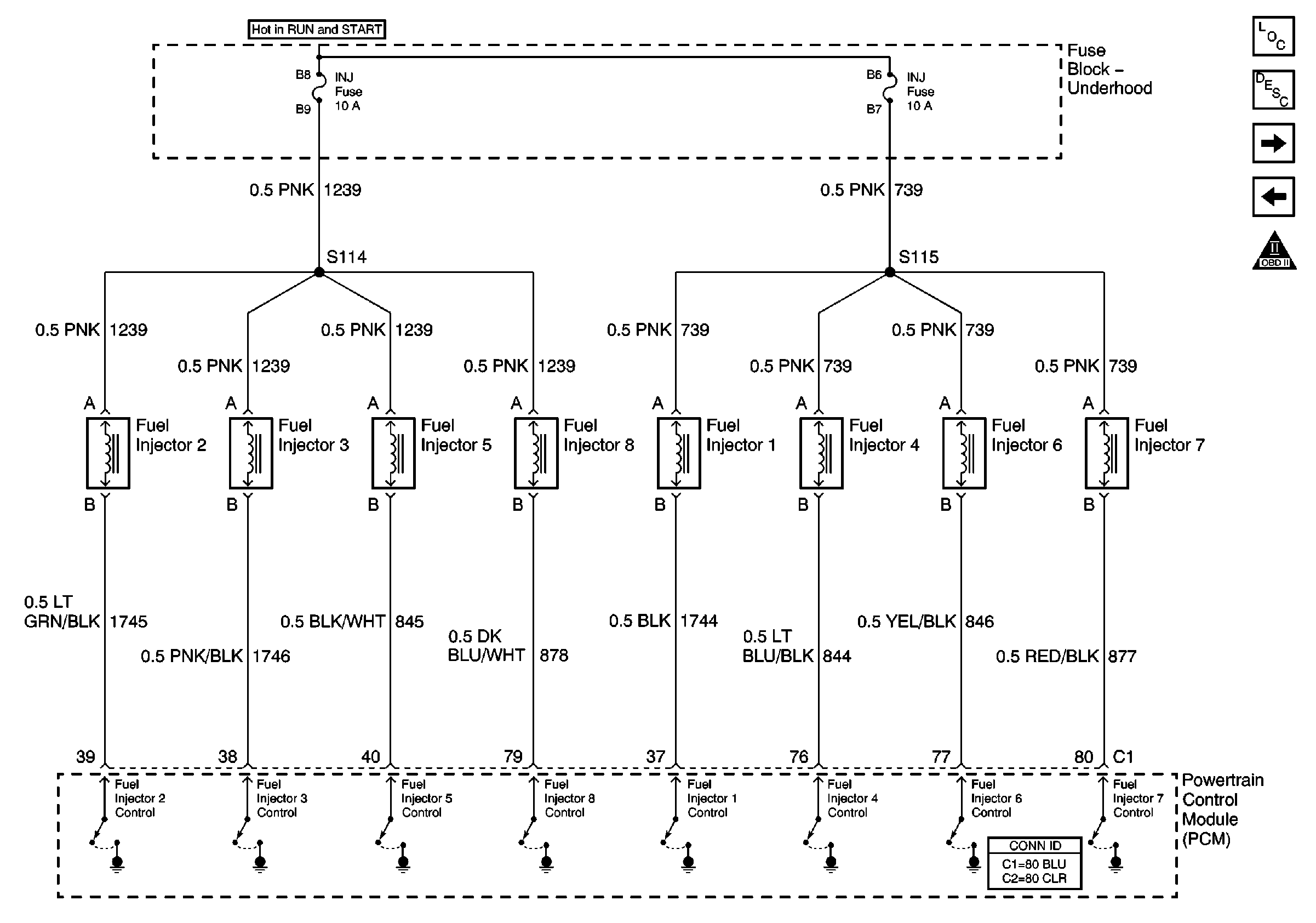
🢒 Fuel Injectors
Fuel Injectors
Fuel Injectors
Master Electrical Component List
Engine and Fuel Tank Sensors
Fuel Pump and Relay
OBD II Symbol Description Notice