GM Service Manual Online
For 1990-2009 cars only
Makes
🢒
Cadillac
🢒
2001
🢒
Eldorado
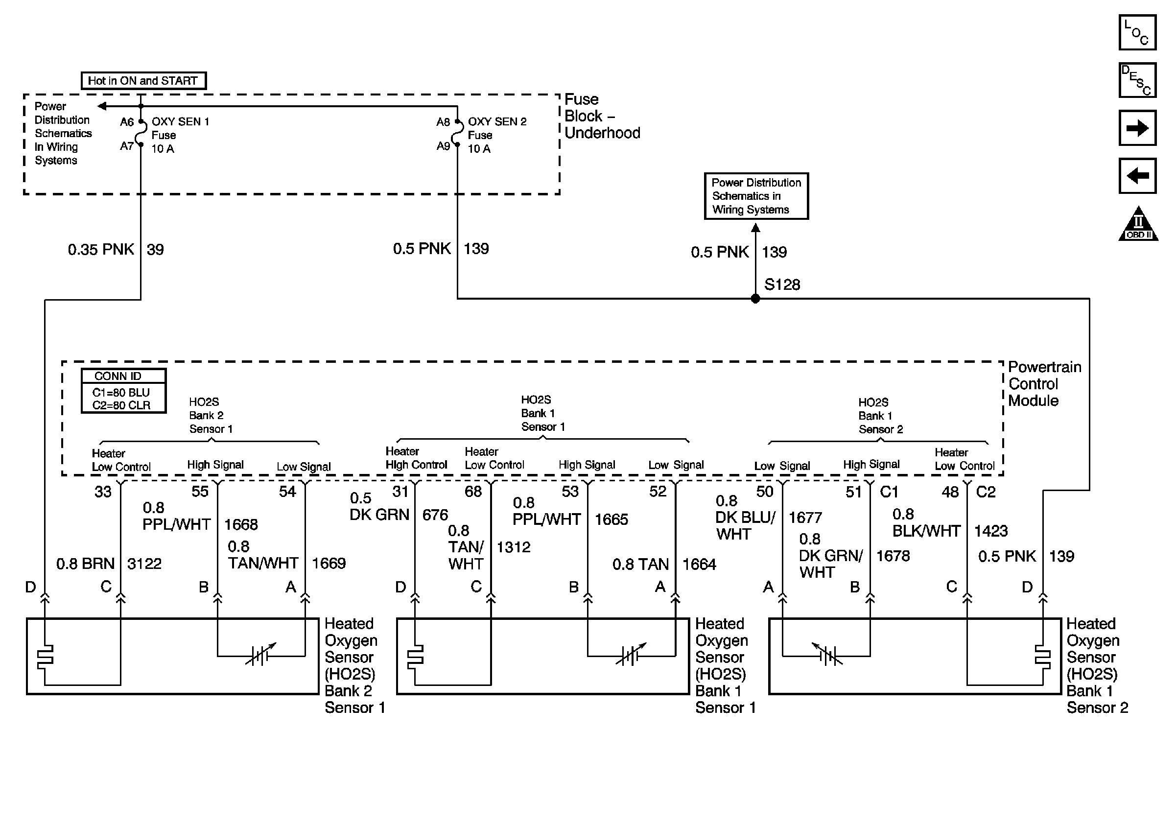
🢒 Heated Oxygen Sensors
Heated Oxygen Sensors
Heated Oxygen Sensors
Master Electrical Component List
MAF Sensor, EVAP Components and EGR Valve
Engine and Fuel Tank Sensors
OBD II Symbol Description Notice
IGN 1, COOL FANS, BATT 1, and BRAKES Fuses
OXY SEN 1, OXY SEN 2, FUEL PUMP, ECS Fuses and FUEL PUMP Relay