GM Service Manual Online
For 1990-2009 cars only
Makes
🢒
Cadillac
🢒
2001
🢒
Eldorado
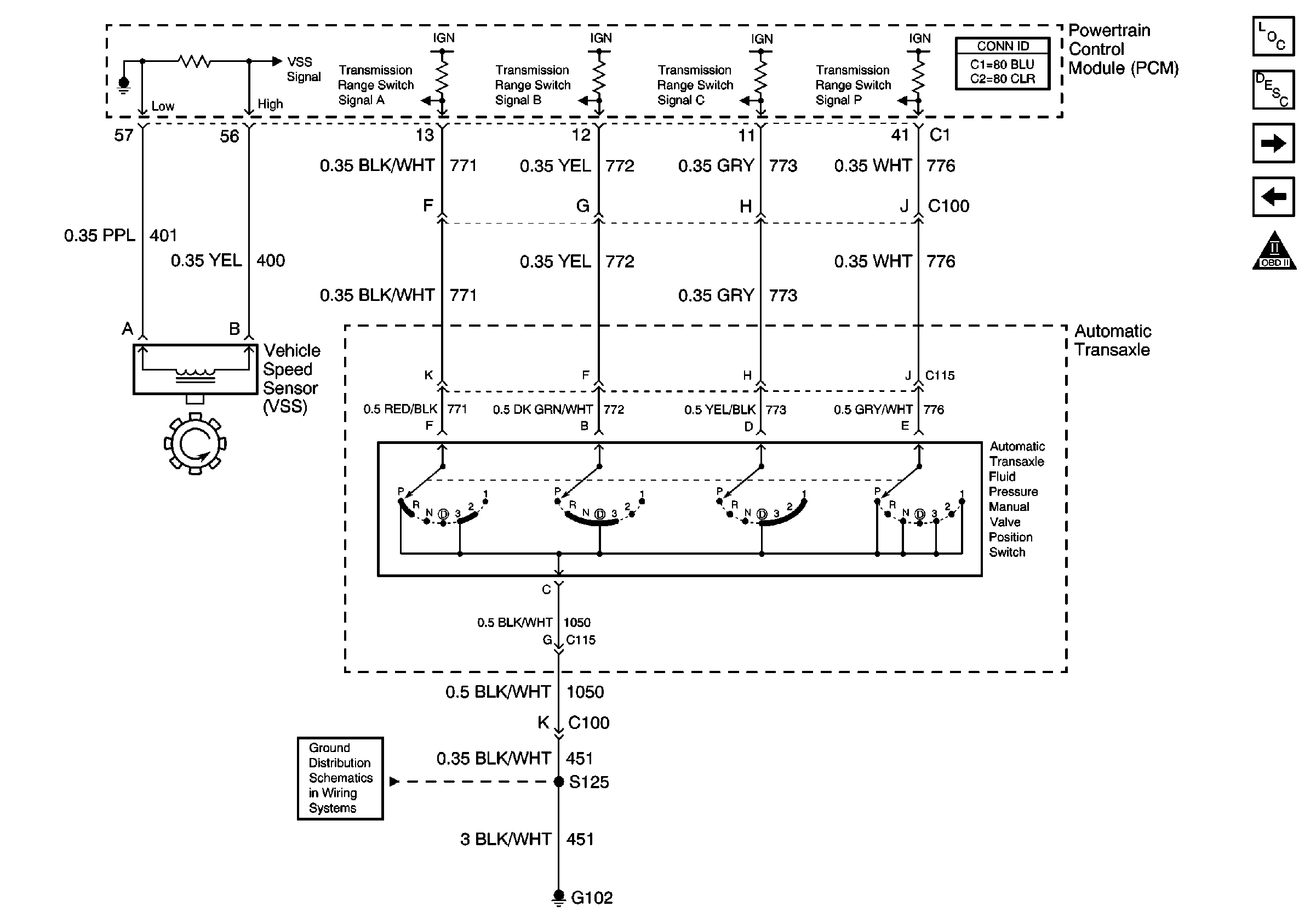
🢒 Transaxle IMS and VSS
Transaxle IMS and VSS
Transaxle IMS and VSS
Master Electrical Component List
AIR Pump, Pump Relay and Solenoid
Transaxle Sensors and TR Switch
OBD II Symbol Description Notice
G102