GM Service Manual Online
For 1990-2009 cars only
Makes
🢒
Cadillac
🢒
2002
🢒
Escalade EXT
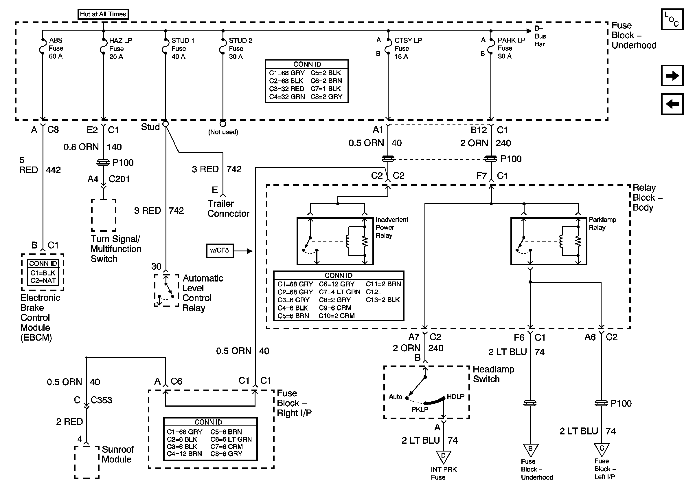
🢒 ABS, HAZ LP, STUD 1, STUD 2, CTSY LP, and PARK LP Fuses
ABS, HAZ LP, STUD 1, STUD 2, CTSY LP, and PARK LP Fuses
ABS, HAZ LP, STUD 1, STUD 2, CTSY LP, and PARK LP Fuses
Master Electrical Component List
FR PRK, TRL PRK, HORN Fuses, FOG LAMP and HORN Relays
HTD MIR, RR DEFOG Fuses, and RR DEFOG Relay
B+ Bus Bar
INT PRK Fuse - 1 of 2
FR PRK, TRL PRK, HORN Fuses, FOG LAMP and HORN Relays
INT PRK Fuse - 1 of 2