GM Service Manual Online
For 1990-2009 cars only
Makes
🢒
Cadillac
🢒
2002
🢒
Escalade EXT
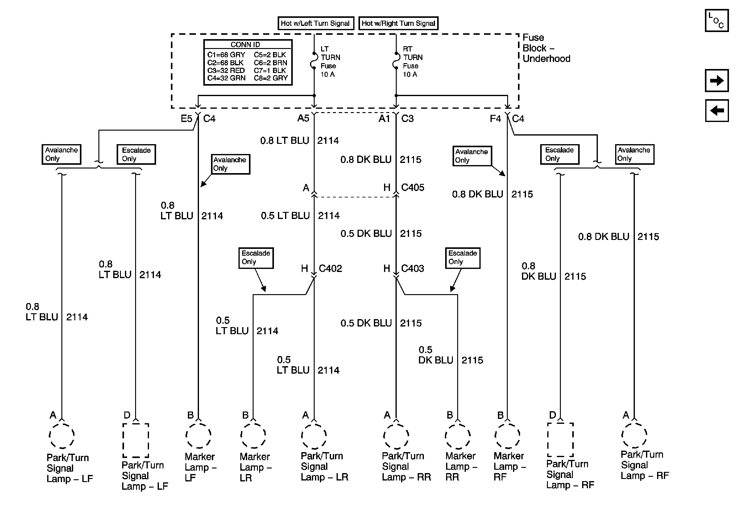
🢒 LT TURN AND RT TURN Fuses - Escalade w/4WD and Avalanche
LT TURN AND RT TURN Fuses - Escalade w/4WD and Avalanche
LT TURN and RT TURN Fuses - Escalade w/4WD and Avalanche
Master Electrical Component List
LT TURN and RT TURN Fuses - Escalade 2WD and Escalade EXT
LT TURN AND RT TURN Fuses - Tahoe/Yukon/Suburban/Yukon XL