GM Service Manual Online
For 1990-2009 cars only
Makes
🢒
Cadillac
🢒
2002
🢒
Escalade EXT
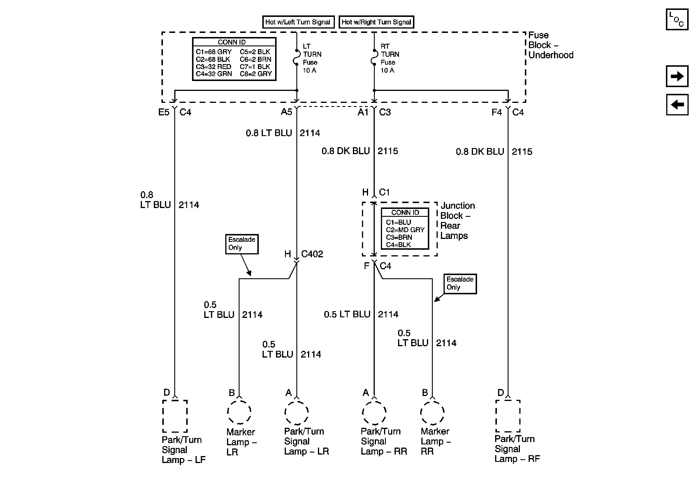
🢒 LT TURN and RT TURN Fuses - Escalade 2WD and Escalade EXT
LT TURN and RT TURN Fuses - Escalade 2WD and Escalade EXT
LT TURN and RT TURN Fuses - Escalade 2WD and Escalade EXT
Master Electrical Component List
TRL L TRN, TRL R TURN, VEH STOP - 1 of 2, and CHMSL Fuses
LT TURN AND RT TURN Fuses - Escalade w/4WD and Avalanche
IGNITION, RUN, and START Bus Bar