GM Service Manual Online
For 1990-2009 cars only
Makes
🢒
Cadillac
🢒
2002
🢒
Escalade EXT
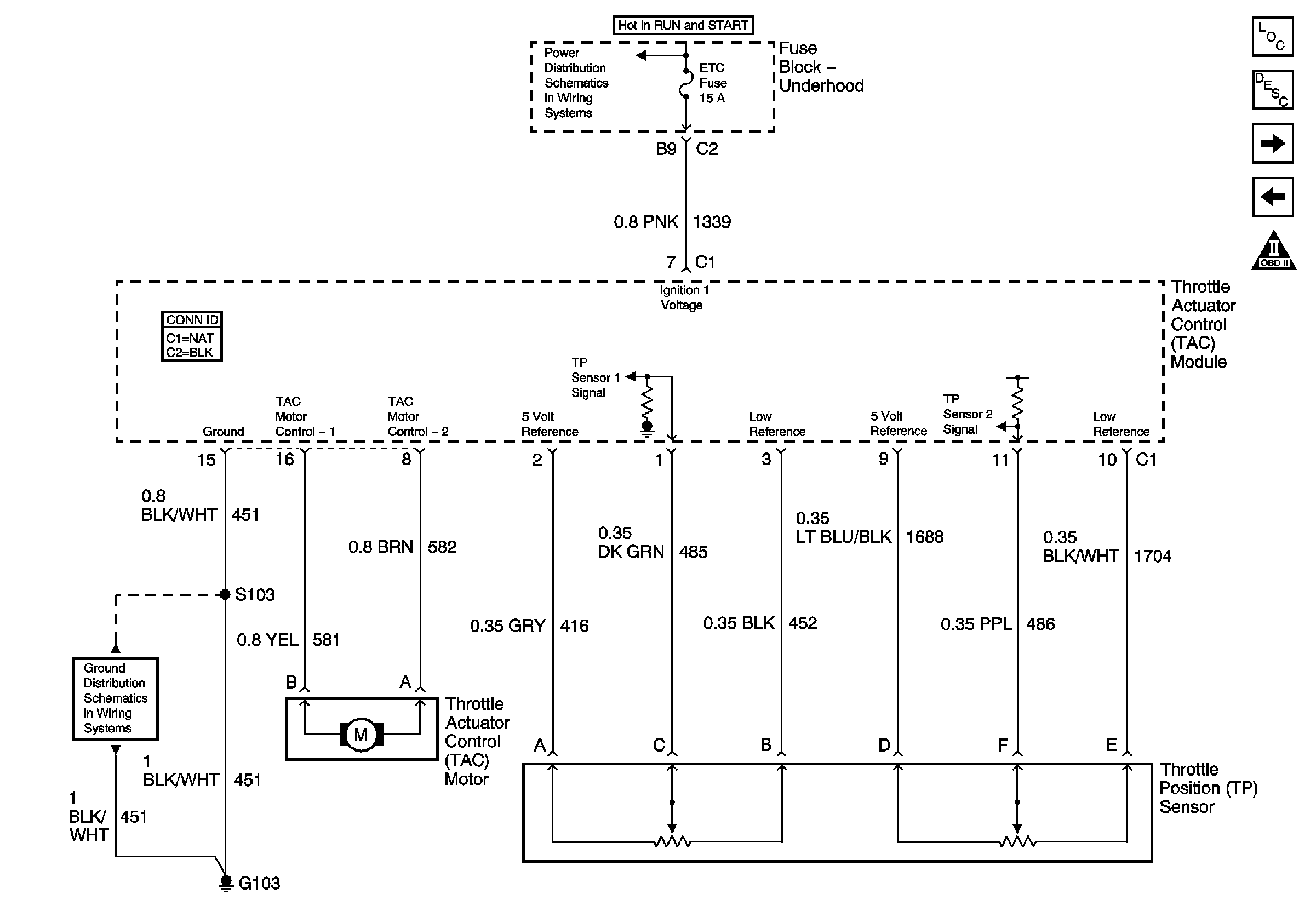
🢒 Engine Data Sensors - Electronic Throttle Controls, TAC Motor and TP Sensor
Engine Data Sensors - Electronic Throttle Controls, TAC Motor and TP Sensor
Engine Data Sensors - Electronic Throttle Controls, TAC Motor and TP Sensor
Master Electrical Component List
Powertrain Control Module Description
Engine Data Sensors - Electronic Throttle Controls, Accelerator Pedal Position Sensor and Cruise Control
Engine Data Sensors - HO2S 6.0L w/Isolated Grounded Sensors
OBD II Symbol Description Notice
ECM 1, ETC, INJ A and INJ B Fuses
G103, G105, and G106