GM Service Manual Online
For 1990-2009 cars only
Makes
🢒
Cadillac
🢒
2002
🢒
Escalade EXT
🢒 Communications, Theft Deterrent, and Engine Cooling
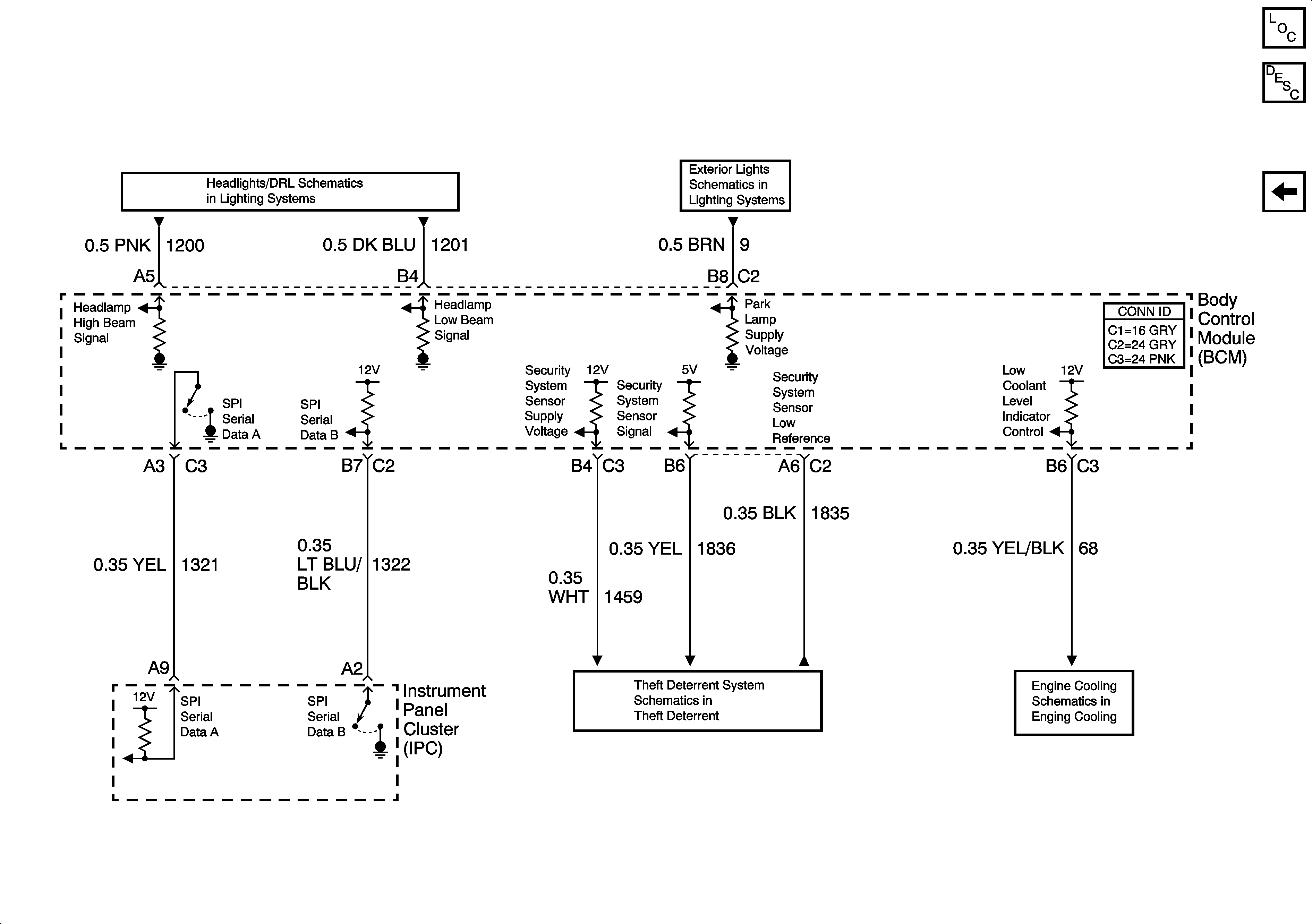
Communications, Theft Deterrent, and Engine Cooling
Communications, Theft Deterrent, and Engine Cooling
Master Electrical Component List
Audible Warnings Description and Operation
Ignition Switch, Seat Belt, and Door Ajar Inputs
Interior Accessories
Headlights
Theft Deterrent
Low Coolant Indicator