GM Service Manual Online
For 1990-2009 cars only
Makes
🢒
Cadillac
🢒
2002
🢒
Escalade EXT
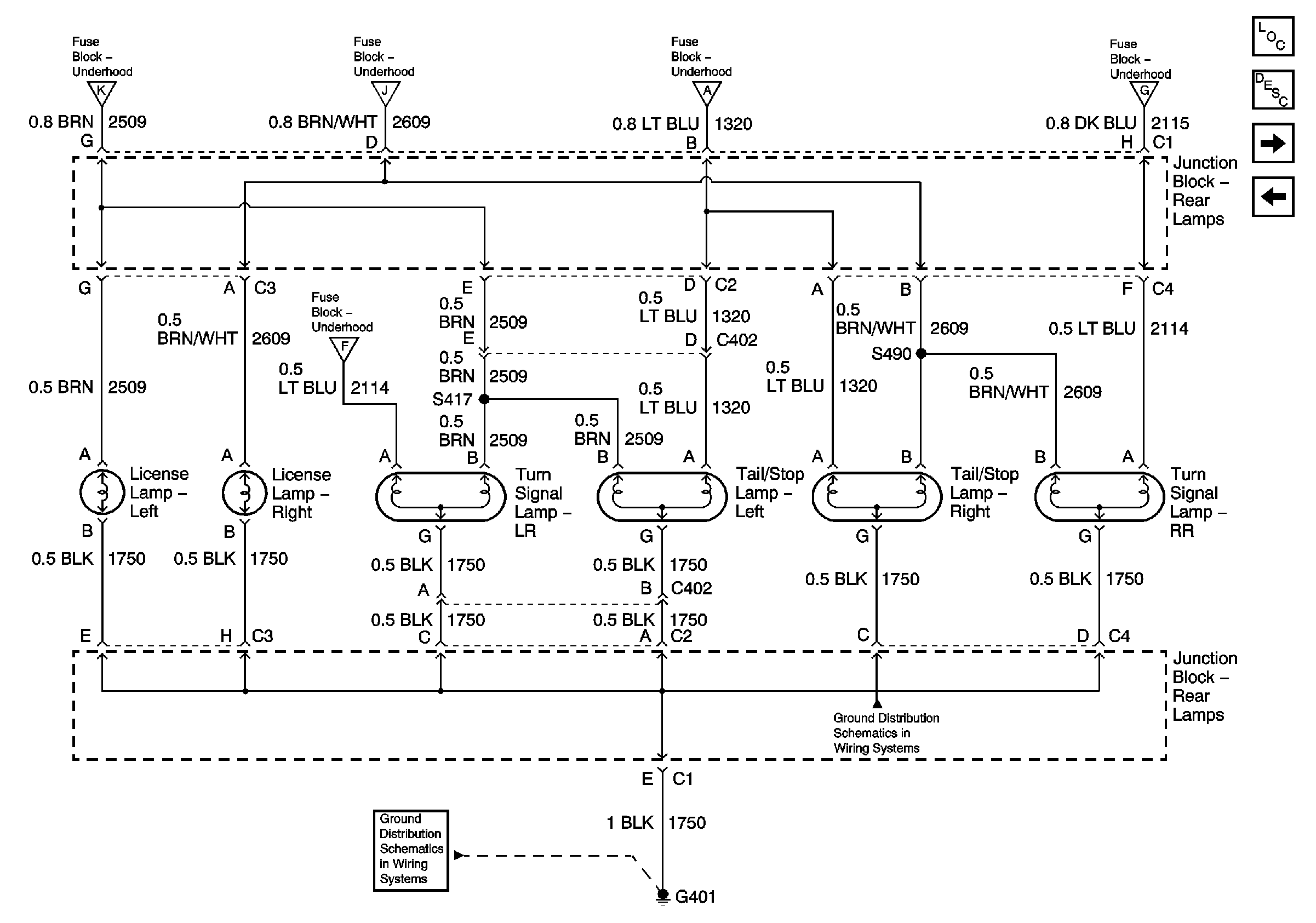
🢒 Rear Lamps
Rear Lamps
Rear Lamps
Master Electrical Component List
Exterior Lighting Systems Description and Operation
Backup Lamps
Park Lamp Supply and CHMSL
Park Lamp Control
Park Lamp Control
Hazard FLasher, Turn Signal, and Stop Lamp Control
Park/Turn Signal Lamps
Park/Turn Signal Lamps
G401 - Avalanche Built Before July 16, 2001 and 4WD Escalade
G401 - Avalanche Built Before July 16, 2001 and 4WD Escalade