GM Service Manual Online
For 1990-2009 cars only
Makes
🢒
Cadillac
🢒
2003
🢒
Escalade EXT
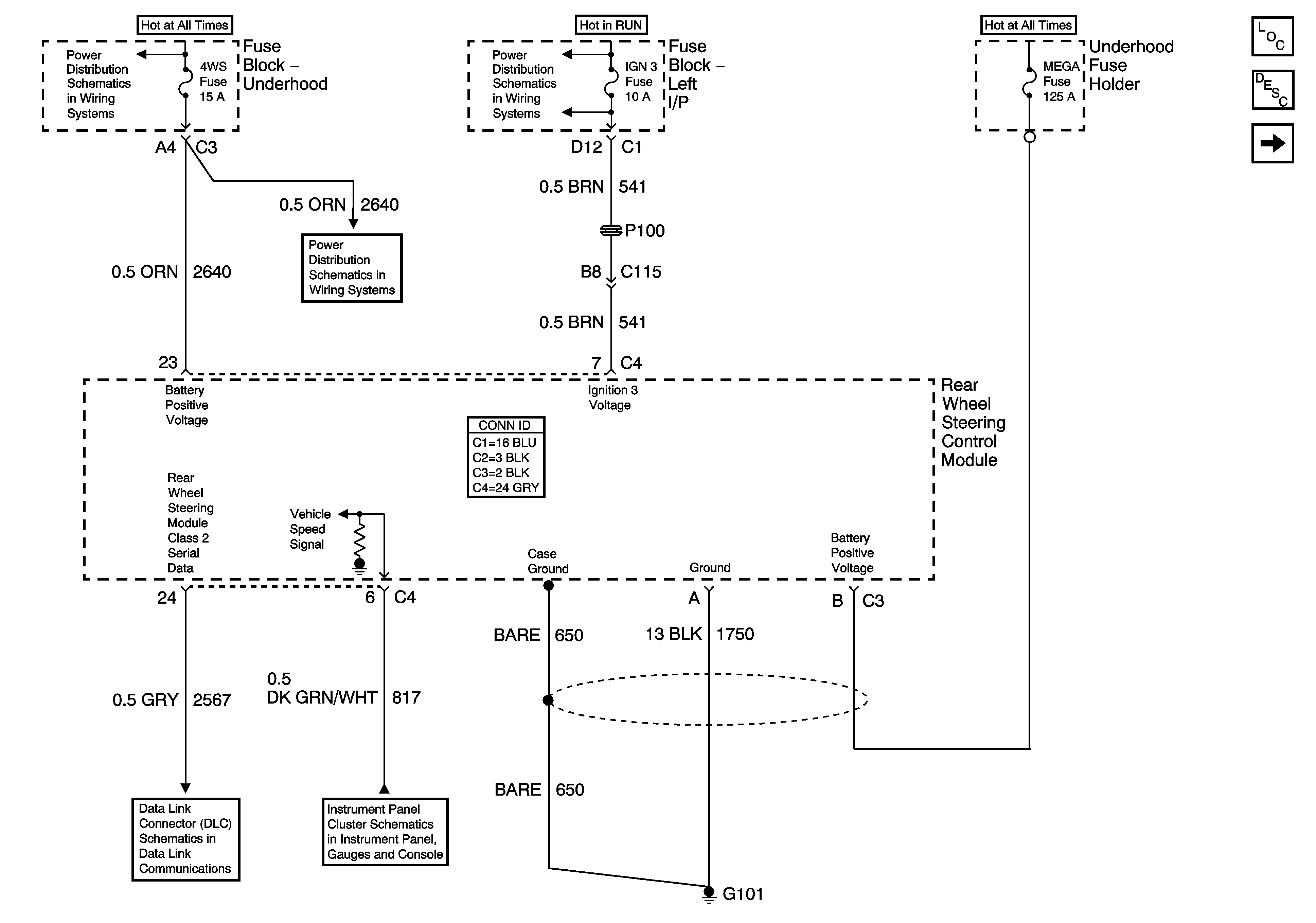
🢒 Power, Ground, DLC, and Vehicle Speed
Power, Ground, DLC, and Vehicle Speed
Power, Ground, DLC, and Vehicle Speed
Master Electrical Component List
Rear Wheel Steering Description and Operation
Mode Select Inputs
RADIO, RADIO AMP, 4WS
RADIO, RADIO AMP, 4WS
IGN 3
SP205 - 1 of 2
Gauges, VSS, Engine Oil Signals