GM Service Manual Online
For 1990-2009 cars only
Makes
🢒
Cadillac
🢒
2003
🢒
Escalade EXT
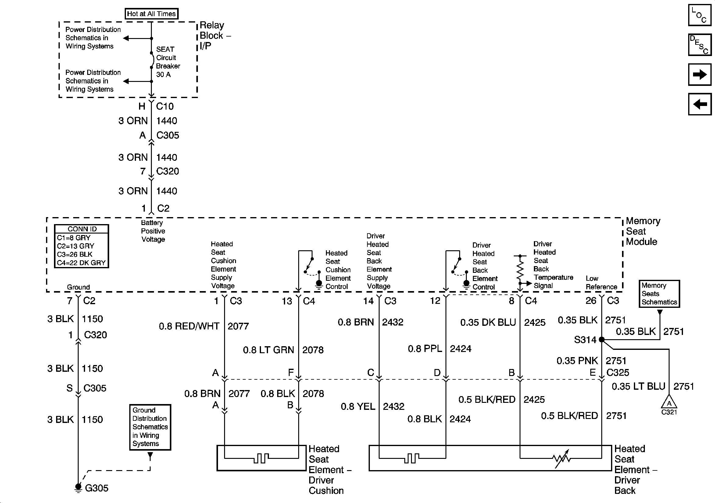
🢒 Power, Ground, and Driver Heated Seat Elements
Power, Ground, and Driver Heated Seat Elements
Power, Ground, and Driver Heated Seat Elements
Master Electrical Component List
Heated Seats Description and Operation Front
Heated Seat Controls - Front Passenger
Heated Seat Controls - Driver
LBEC 1, LBEC 2, MBEC 1
TBC 2A, TBC 2B, TBC 2C, LT DOORS, RT DOORS, SEATS
G304, G305
Seat Position Sensors - 2 of 2
Front Passenger Heated Seat Elements