GM Service Manual Online
For 1990-2009 cars only
Makes
🢒
Cadillac
🢒
2003
🢒
Escalade EXT
🢒 Heated Seat Controls - Driver
Heated Seat Controls - Driver
Heated Seat Controls - Driver
Master Electrical Component List
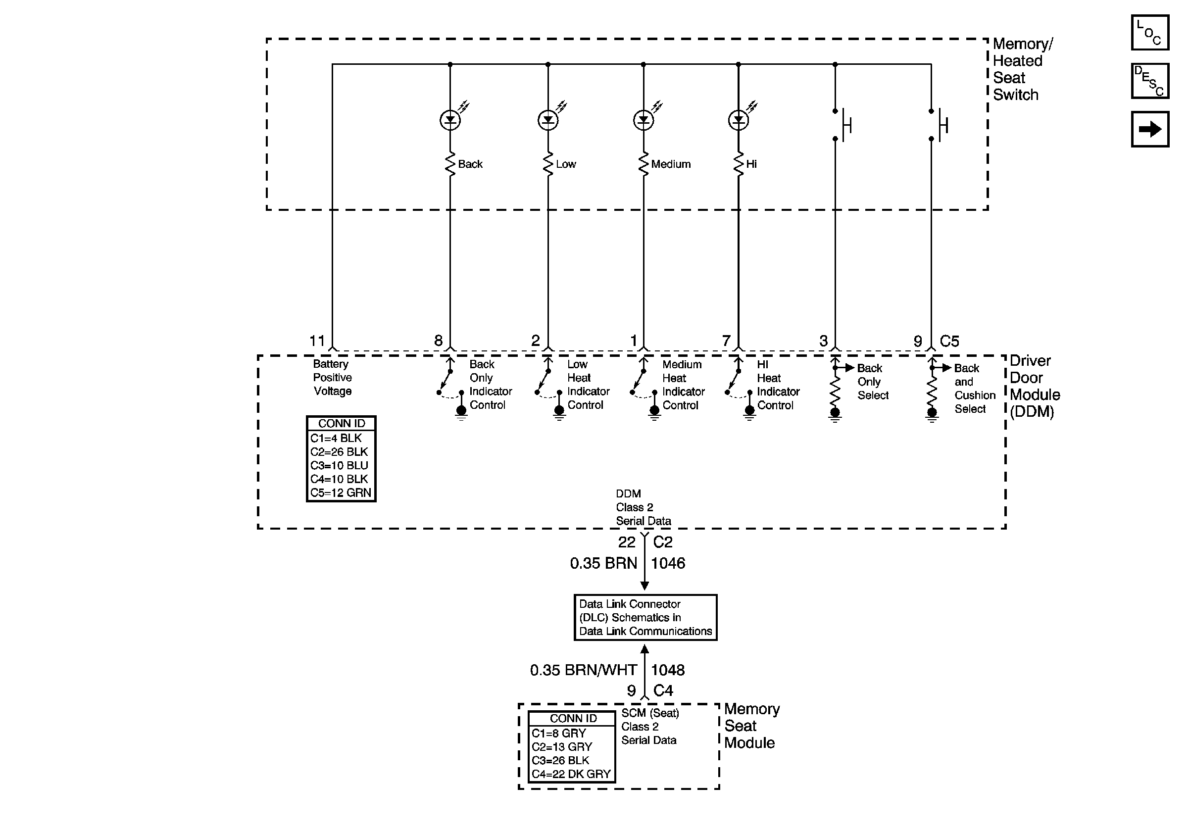
Heated Seats Description and Operation Front
Power, Ground, and Driver Heated Seat Elements
Power, Ground, Class 2, and Memory Set Controls
1 of 2
SP206