GM Service Manual Online
For 1990-2009 cars only
Makes
🢒
Cadillac
🢒
2003
🢒
Escalade EXT
🢒 2 of 2
2 of 2
2 of 2
Master Electrical Component List
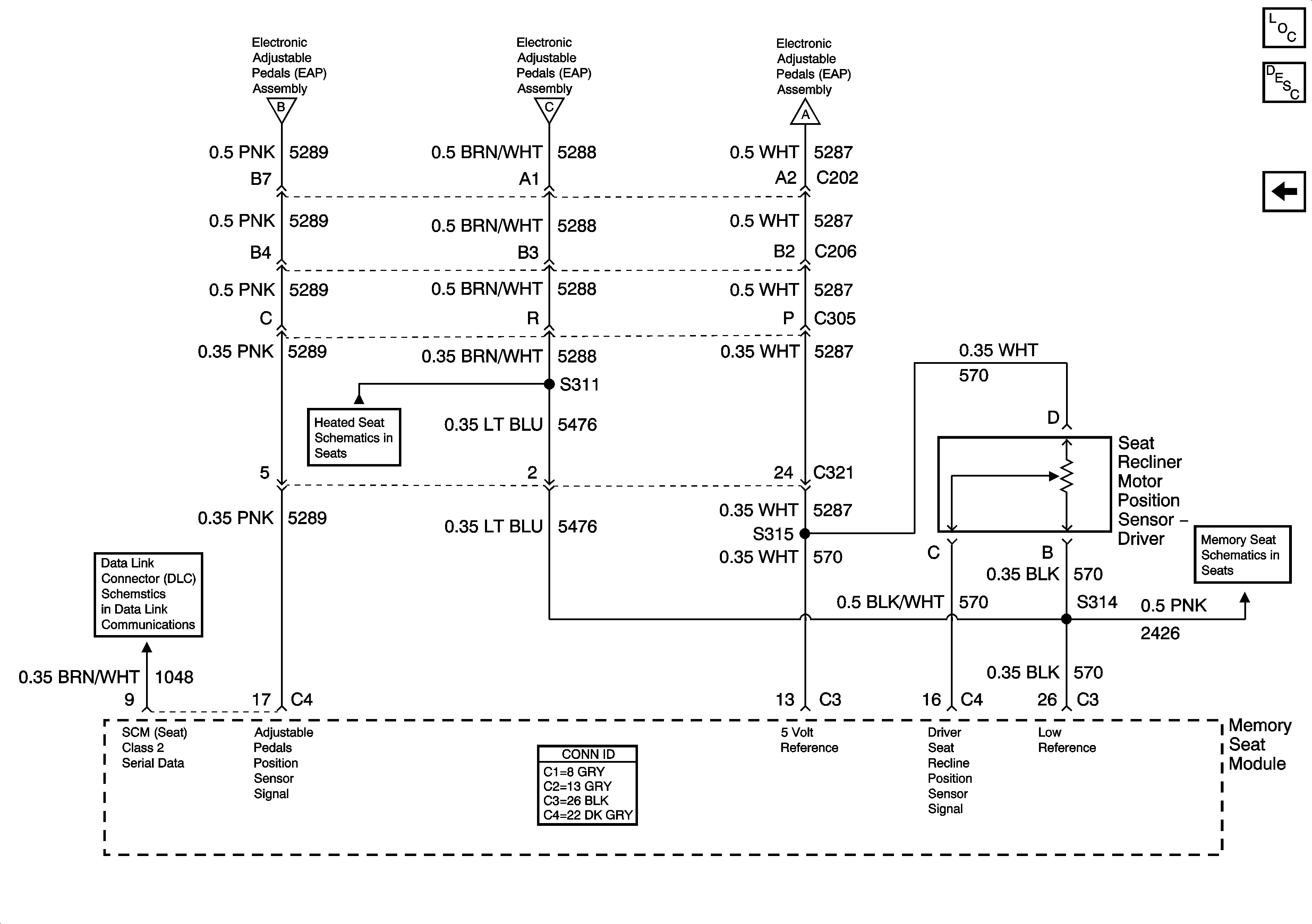
Adjustable Pedals Description and Operation
1 of 2
1 of 2
SP206
Power, Ground, and Driver Heated Seat Elements
Seat Position Sensors - 2 of 2