GM Service Manual Online
For 1990-2009 cars only
Makes
🢒
Cadillac
🢒
2003
🢒
Escalade EXT
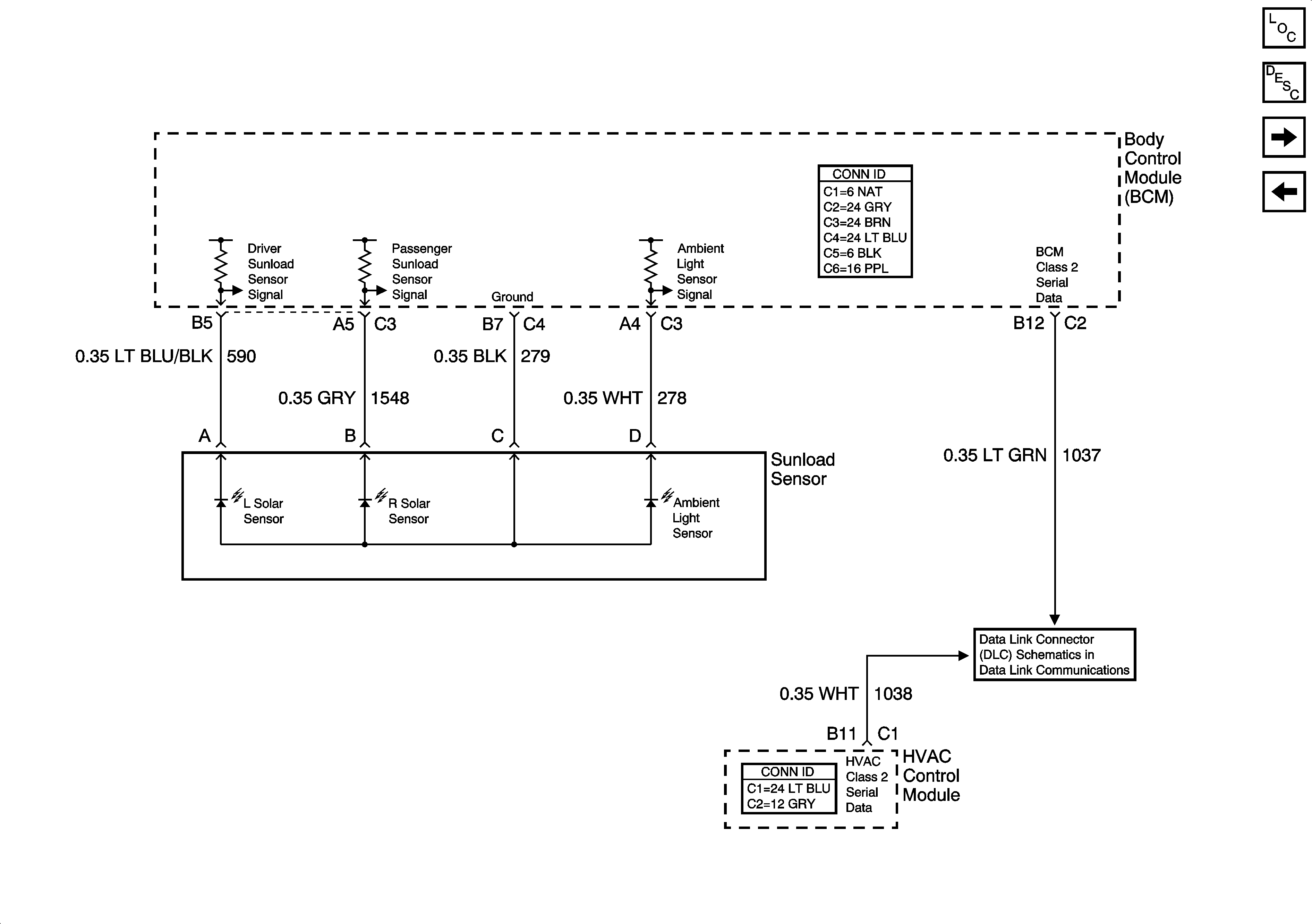
🢒 Sun Load and Ambient Light Sensors
Sun Load and Ambient Light Sensors
Sun Load and Ambient Light Sensors
Master Electrical Component List
Air Delivery Description and Operation
Front Left and Right Temperature Control
Power, Ground, Class2, and Front Blower Controls)
SP205 - 1 of 2