GM Service Manual Online
For 1990-2009 cars only
Makes
🢒
Cadillac
🢒
2004
🢒
Escalade EXT
🢒 Controlled/Monitored Subsystem References
Controlled/Monitored Subsystem References
Controlled/Monitored Subsystem References
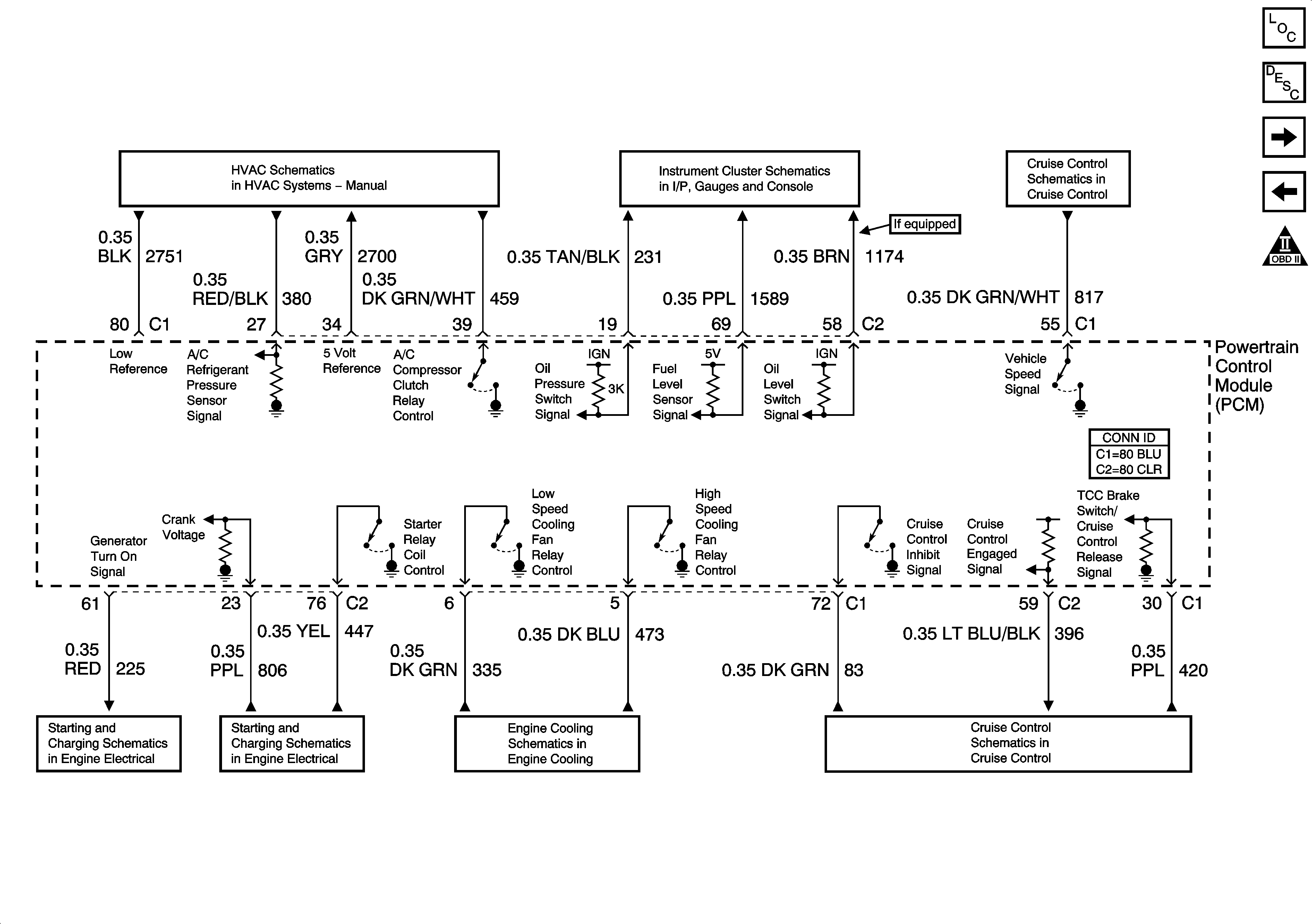
Master Electrical Component List
Powertrain Control Module Description
Transmission Controls - A/T
EVAP Controls and EGR
OBD II Symbol Description Notice
Compressor Controls
Fuel Level, Oil Level and Oil Pressure
Power and Ground
Charging System
Starting System - LA1
Cooling Fans
Power and Ground