GM Service Manual Online
For 1990-2009 cars only
Makes
🢒
Cadillac
🢒
2004
🢒
Escalade EXT
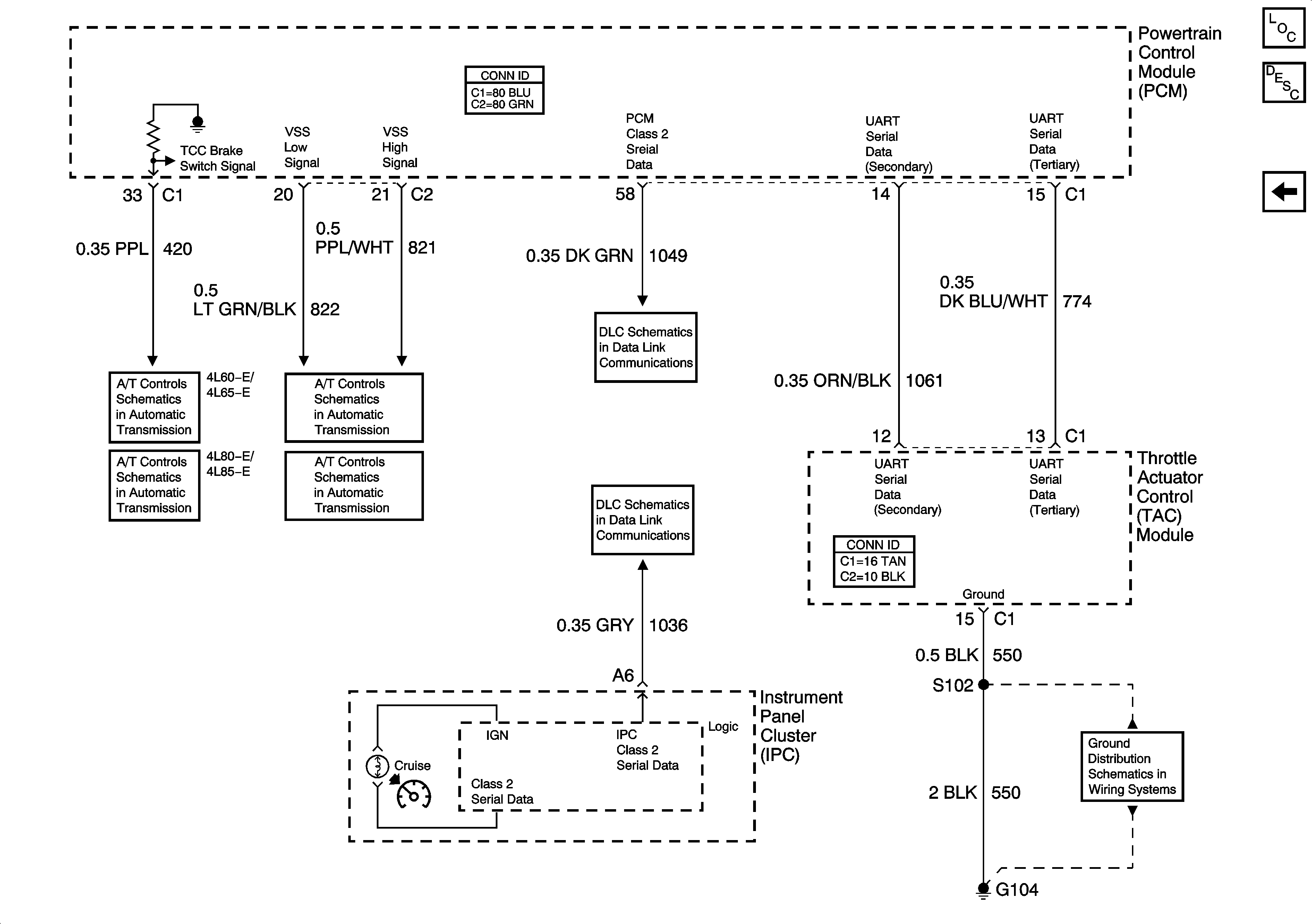
🢒 Ground and Class 2 Serial Data
Ground and Class 2 Serial Data
Ground and Class 2 Serial Data
Master Electrical Component List
Cruise Control Description and Operation
Power, Cruise Control Switch, and Stop Lamp Feed
Valve Controls and Brake Switch
Vehicle Speed Signal and 4WD Low Signal
Valve Controls and Brake Switch
Vehicle Speed Signal and 4WD Low Signal
SP205 - 2 of 2
SP205 - 1 of 2
G104, G107