GM Service Manual Online
For 1990-2009 cars only
Makes
🢒
Cadillac
🢒
2004
🢒
Escalade EXT
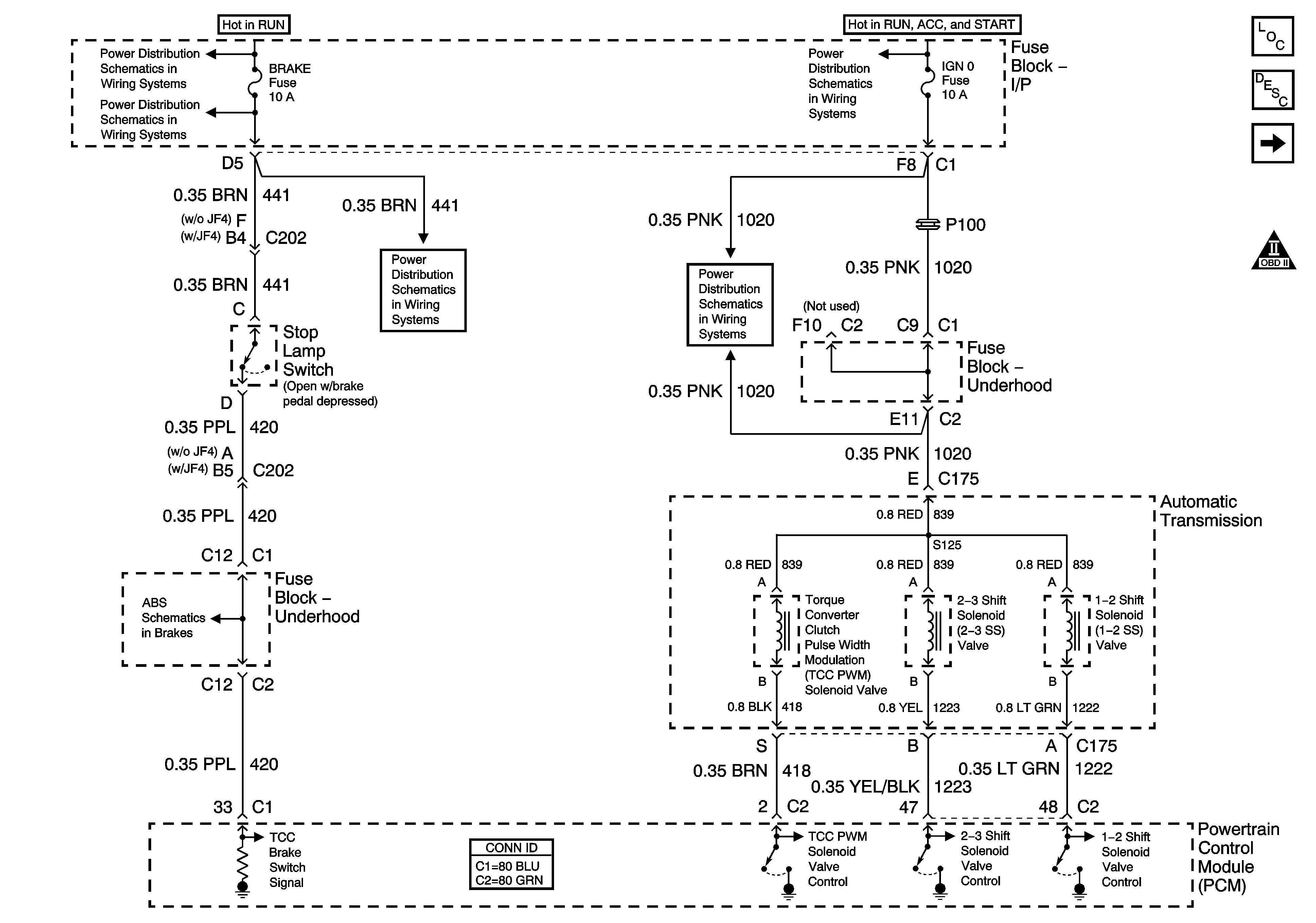
🢒 Valve Controls and Brake Switch
Valve Controls and Brake Switch
Valve Controls and Brake Switch
Master Electrical Component List
Electronic Component Description
Switch Inputs
Engine Controls Schematic Icons
Ignition Switch - START, and RUN Bus Bars
BRAKE, HTR/AC, HVAC I, CRUISE, 4WD Fuses
Ignition Switch - ACC/RUN/START, ACC/RUN, and RUN/START Bus Bars
BRAKE, HTR/AC, HVAC I, CRUISE, 4WD Fuses
IGN 0, TBC IGN 0, TBC ACCY, SEO ACCY, W/S WPR, RR WPR Fuses
Stop Lamp Switch and Traction Control Switch