GM Service Manual Online
For 1990-2009 cars only
Makes
🢒
Cadillac
🢒
2004
🢒
Escalade EXT
🢒 Rear Window Defogger Controls
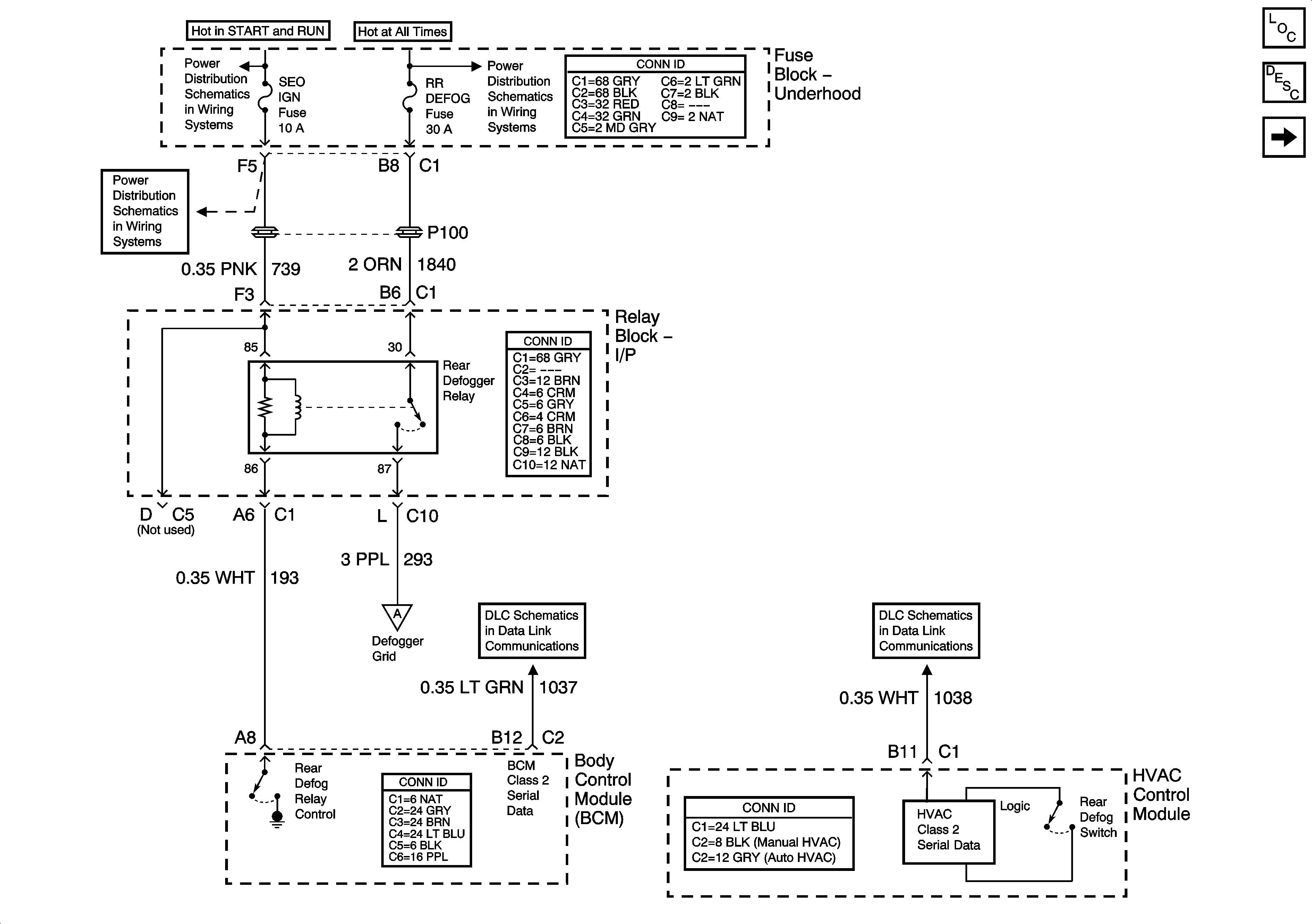
Rear Window Defogger Controls
Rear Window Defogger Control
Master Electrical Component List
Rear Window Defogger Description and Operation
Defogger Grid and Ground
Ignition Switch - ACC/RUN/START, ACC/RUN, and RUN/START Bus Bars
B+ Bus - 1 of 2
O2A, O2B, TBC IGN 1, SEO IGN Fuses
Defogger Grid and Ground
SP205 - 2 of 2
SP205 - 1 of 2