GM Service Manual Online
For 1990-2009 cars only
Makes
🢒
Cadillac
🢒
2004
🢒
Escalade EXT
🢒 Switch
Switch
Switch
Master Electrical Component List
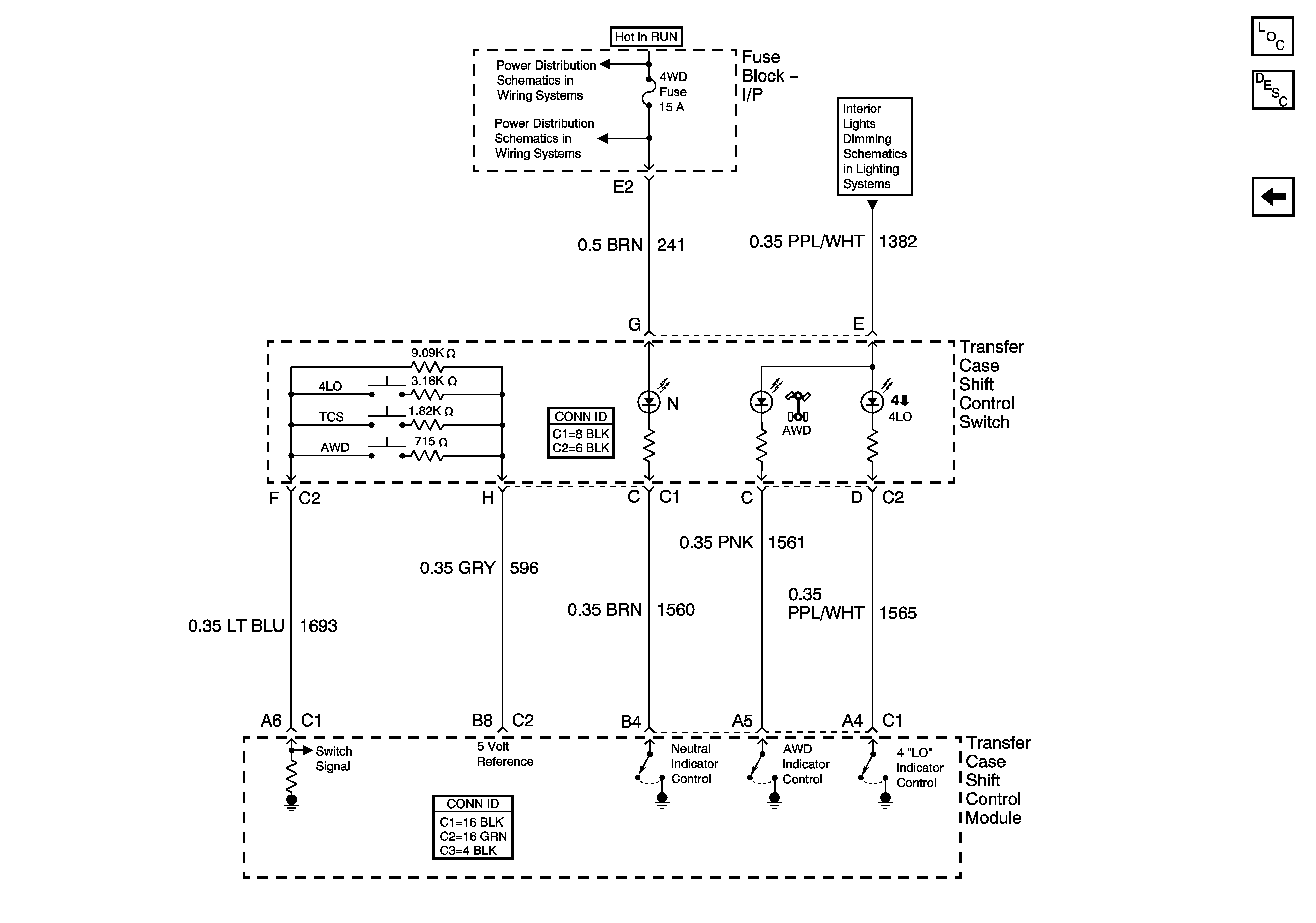
Transfer Case Description and Operation
Power, Ground, Serial Data and Encoder Motor Control
Ignition Switch - START, and RUN Bus Bars
BRAKE, HTR/AC, HVAC I, CRUISE, 4WD Fuses
LED Dimming Supply Voltage - 2 of 2