GM Service Manual Online
For 1990-2009 cars only
Makes
🢒
Cadillac
🢒
2004
🢒
Escalade EXT
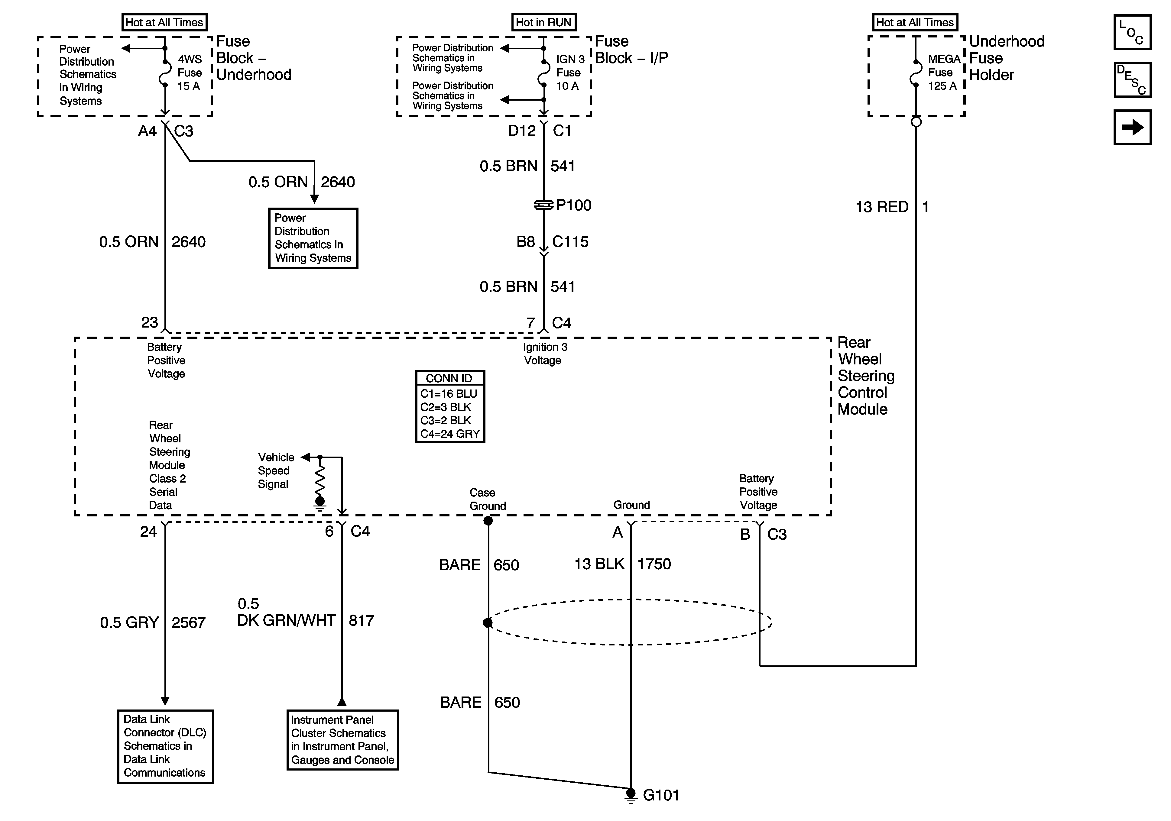
🢒 Power, Ground, Serial Data and Vehicle Speed
Power, Ground, Serial Data and Vehicle Speed
Power, Ground, Serial Data and Vehicle Speed
Master Electrical Component List
Rear Wheel Steering Description and Operation
Mode Select Inputs
B+ Bus - 1 of 2
4WS, RADIO, RADIO AMP Fuses
Ignition Switch - START, and RUN Bus Bars
IGN 3 Fuse - 1 of 2
SP205 - 1 of 2
Vehicle Speed and Speedometer