GM Service Manual Online
For 1990-2009 cars only
Makes
🢒
Cadillac
🢒
2004
🢒
Escalade EXT
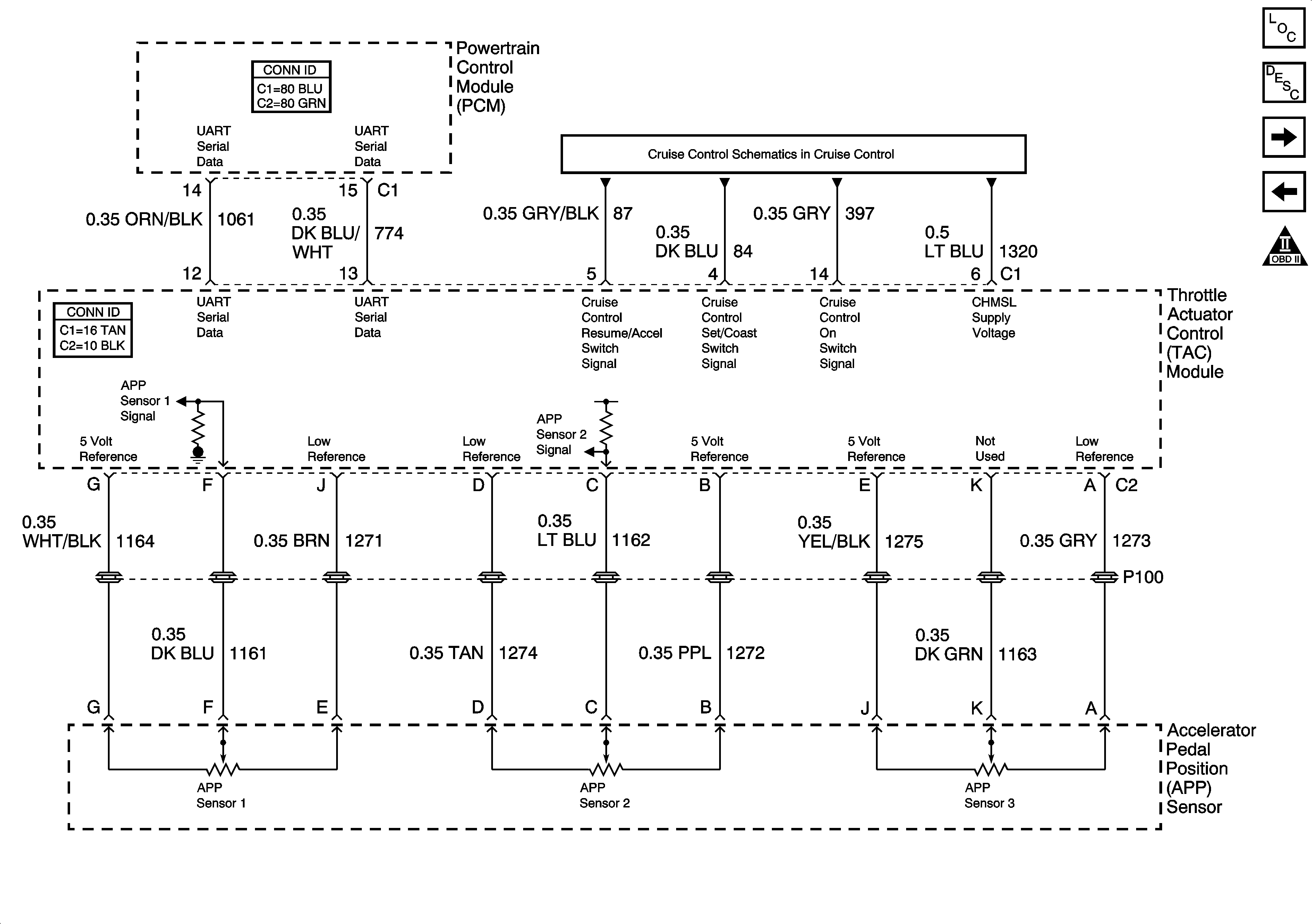
🢒 Engine Data Sensors - Electronic Throttle Controls - 2 of 2
Engine Data Sensors - Electronic Throttle Controls - 2 of 2
Engine Data Sensors - Electronic Throttle Controls - 2 of 2
Master Electrical Component List
Powertrain Control Module Description
Ignition Controls - Ignition System Coil 1, 3, 5 and 7
Engine Data Sensors - Electronic Throttle Controls - 1 of 2
Engine Controls Schematic Icons
Power, Cruise Control Switch, and Stop Lamp Feed