GM Service Manual Online
For 1990-2009 cars only

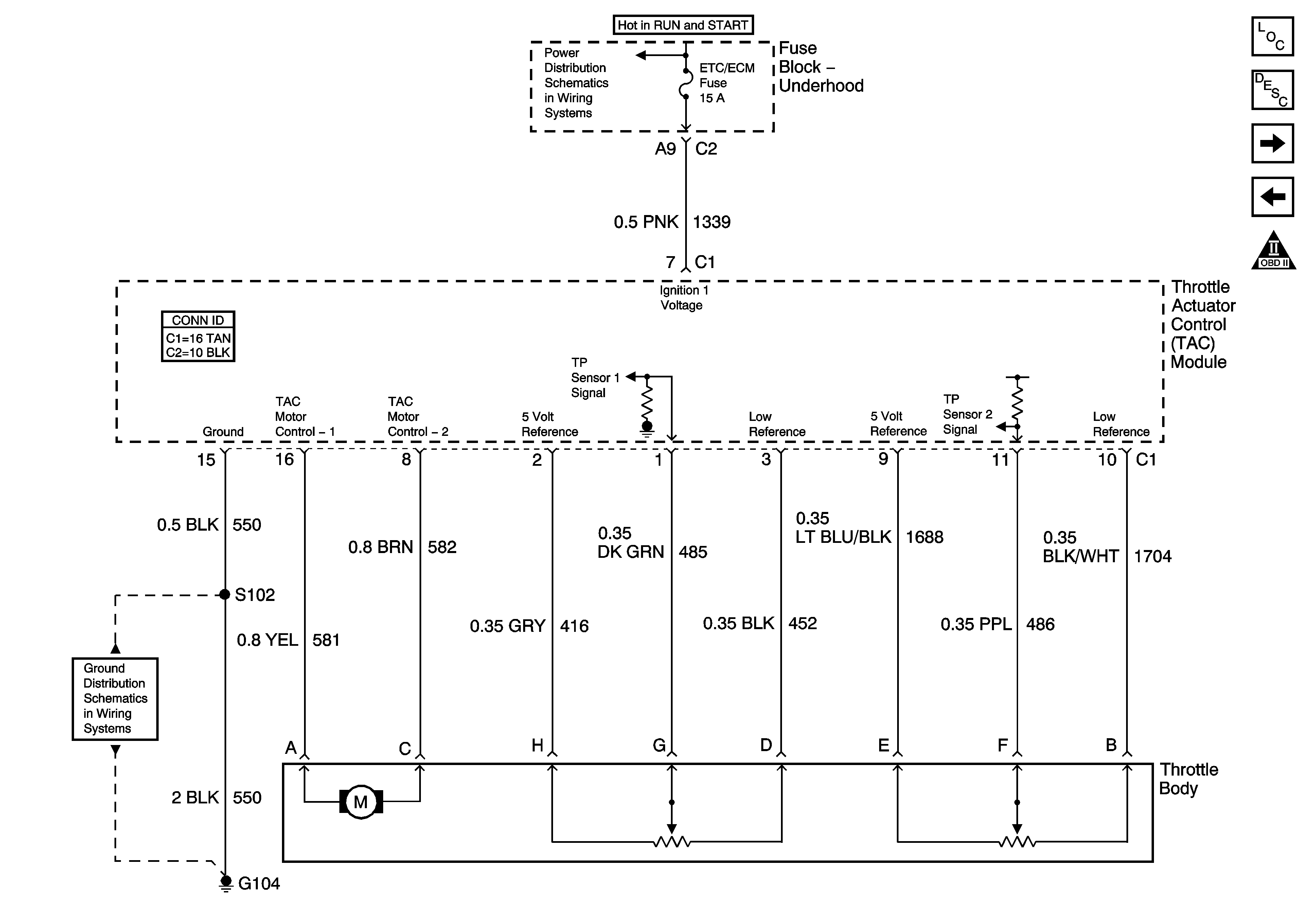
Engine Data Sensors - Electronic Throttle Controls - 1 of 2

Engine Data Sensors - Electronic Throttle Controls - 1 of 2


Object Number: 1226793  Size: FS
Master Electrical Component List
Powertrain Control Module Description
Engine Data Sensors - Electronic Throttle Controls - 2 of 2
Engine Data Sensors - HO2S
Engine Controls Schematic Icons
IGN 1 Relay Bus Bar, SEO B2, B/U LP, BTSI, TRL B/U Fuses
G104, G107