GM Service Manual Online
For 1990-2009 cars only
Makes
🢒
Cadillac
🢒
2004
🢒
Escalade EXT
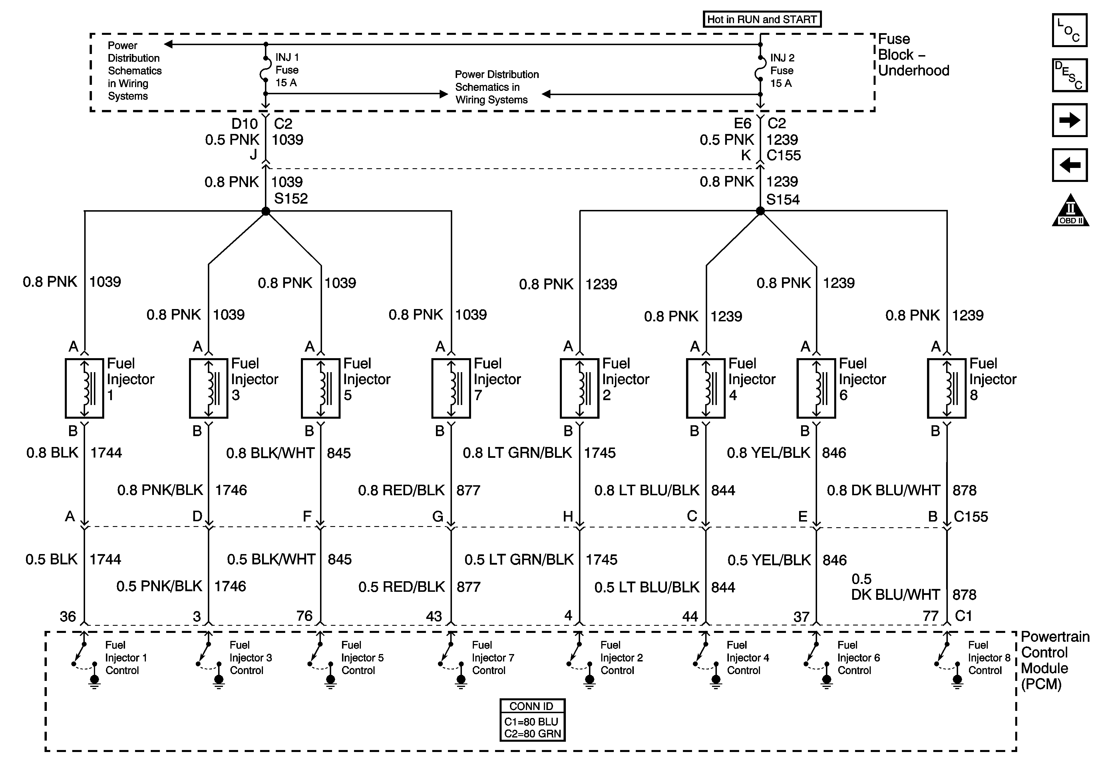
🢒 Fuel Controls - Fuel Injectors
Fuel Controls - Fuel Injectors
Fuel Controls - Fuel Injectors
Master Electrical Component List
Powertrain Control Module Description
Fuel Controls - EVAP Controls and Fuel Tank Pressure
Fuel Controls - Fuel Pump Controls
Engine Controls Schematic Icons
IGN 1 Relay Bus Bar, SEO B2, B/U LP, BTSI, TRL B/U Fuses
INJ 1, INJ 2 Fuses - All Except 8.1L