GM Service Manual Online
For 1990-2009 cars only
Makes
🢒
Cadillac
🢒
2004
🢒
Escalade EXT
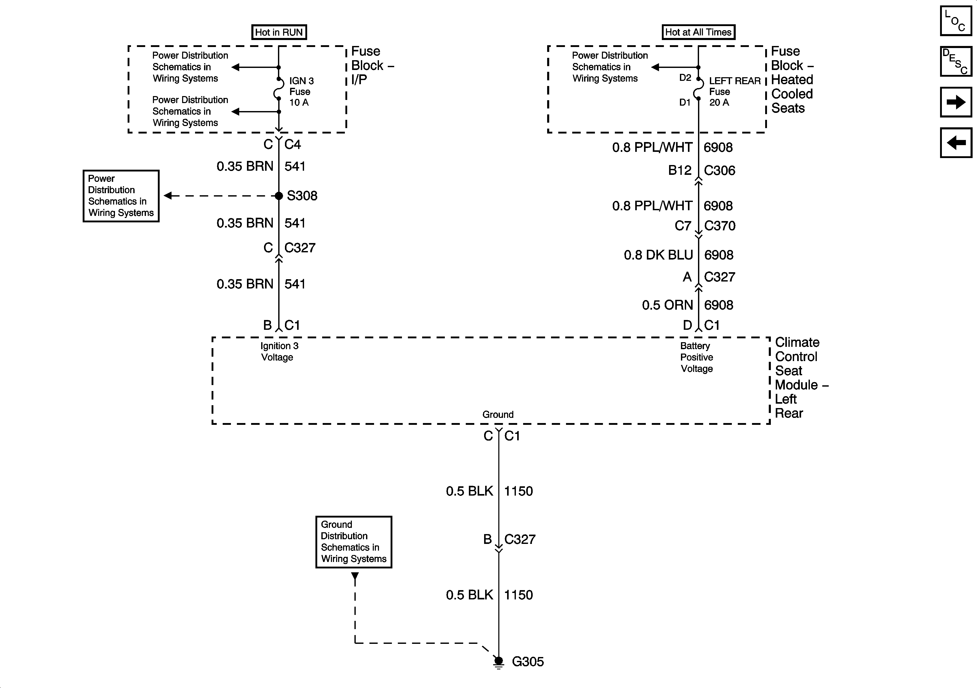
🢒 Left Rear (ULT) - 1 of 4
Left Rear (ULT) - 1 of 4
Left Rear (ULT) - 1 of 4
Master Electrical Component List
Heated/Cooled Seats Description and Operation
Left Rear (ULT) - 2 of 4
Rear Heated Seats - 3 of 3
Ignition Switch - START, and RUN Bus Bars
IGN 3 Fuse - 1 of 2
Mega Fuse - 60A, Driver, Front Passenger, Left Rear, Right Rear Fuses (ULT), and Mega Fuse - 40A, Fuse B, and Fuse D (9L4)
IGN 3 Fuse - 1 of 2
G304, G305