GM Service Manual Online
For 1990-2009 cars only
Makes
🢒
Cadillac
🢒
1998
🢒
Seville
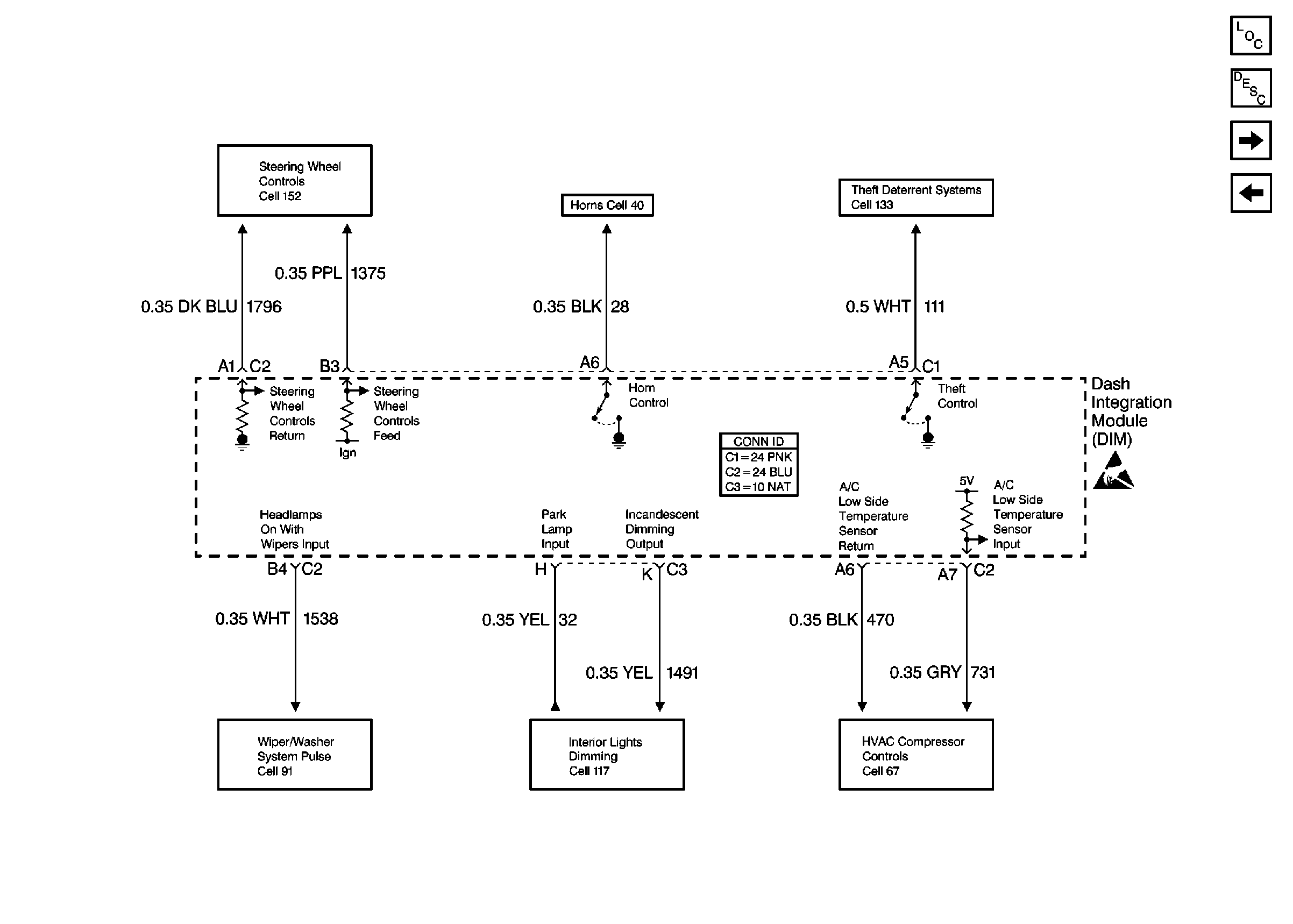
🢒 Cell 51: DIM Inputs and Outputs
Cell 51: DIM Inputs and Outputs
Cell 51: DIM Inputs and Outputs
Body Control Module Components
Body Control System Circuit Description
Cell 51: IPM Power and Ground
Cell 51: DIM Inputs and Outputs
Handling ESD Sensitive Parts Notice
HVAC Compressor Control Schematics
Interior Lights Dimming Schematics
Wiper/Washer System (Pulse) Schematics
Horn Schematics
Theft Deterrent System Schematics
Theft Deterrent System Schematics
Power and Grounding Connector End Views