GM Service Manual Online
For 1990-2009 cars only

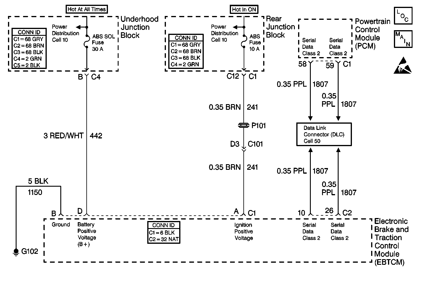
Object Number: 141946  Size: MF
ABS Components
Cell 44: PWR, GND, BPMV Pump Motor and Solenoids
Handling ESD Sensitive Parts Notice
Cell 10: Battery - Underhood Fuse(Junction) Block
Cell 10: IGN 3 Relay and HVAC, ABS Fuses
Cell 50: Class Serial Data Line (2 of 2)

Circuit Description

The extended travel brake switch is used by the EBTCM to determine if the driver has pressed the brake pedal far enough to initiate moderate braking, as opposed to merely brushing or tapping the pedal. The PCM sends this information to the EBTCM via serial data class 2 messages.

Conditions for Setting the DTC

    • The ignition is ON.
    • The PCM detects an extended travel brake switch failure. The PCM also set DTC P1575.

Action Taken When the DTC Sets

    • A malfunction DTC is stored.
    • Stabilitrak® is disabled.
    • The DIC displays the SERVICE STABILITY SYS message.
    • The ABS/TCS remain functional.

Conditions for Clearing the DTC

    • The condition for DTC is no longer present and you used scan tool Clear DTCs function.
    • The condition for DTC is no longer present and you used the On-Board Clear DTCs function.
    • The EBTCM does not detect the DTC in 50 drive cycles.

Diagnostic Aids

    • If the extended travel brake switch is not properly adjusted, the driver may experience longer Stabilitrak® brake pedal pulsations before normal brake pedal feel is returned. The Stabilitrak® brake pedal pulsation is different than the ABS brake pedal pulsation. The Stabilitrak® brake pedal pulsation has a much higher frequency and less pedal travel fluctuation.
    • It is very important that a thorough inspection of the wiring and connectors be performed. Failure to carefully and fully inspect wiring and connectors may result in misdiagnosis, causing part replacement with reappearance of the malfunction.
    • An intermittent malfunction can be caused by poor connections, broken insulation, or a wire that is broken inside the insulation.
    • If an intermittent malfunction exists, refer to Intermittents and Poor Connections Diagnosis in Wiring Systems.
    • Before replacing the EBTCM, use the scan tool in order to perform the DTC C1297 Recalibration.

Step

Action

Value(s)

Yes

No

1

Did you perform the Diagnostic System Check?

--

Go to Step 2

Go to Diagnostic System Check

2

  1. Turn OFF the ignition.
  2. Connect a scan tool to the data link connector (DLC).
  3. Turn ON the ignition, with the engine OFF.
  4. Select Powertrain Control Module (PCM), Diagnostic Trouble Codes.

Is DTC P1575 set as a current DTC?

--

Go to DTC P1575 Extended Travel Brake Switch Circuit in Engine Controls - 4.6L

Go to Step 3

3

  1. Turn ON the ignition, with the engine OFF.
  2. Using the scan tool, select ABS/TCS/ICCS Data Display (1) Diagnostics, DATA LIST 2.
  3. Monitor the Extended Travel Brake Switch.
  4. Step on and off the brake pedal with enough force to simulate a hard braking condition. As the brake pedal is pressed and released, the scan tool should read Applied and Released.
  5. Using a tape measure, measure the distance that the brake pedal travels for the scan tool to read Applied.

Is the distance within the specified range?

1.0-1.3 in (2.5-3.3 cm)

Go to Diagnostic System Check

Go to Step 4

4

Adjust or repair the extended travel brake switch as necessary. Refer to Stop Lamp Switch Replacement or Stop Lamp Switch Adjustment in Hydraulic Brakes.

Did you complete the repair?

--

Go to Diagnostic System Check

--