GM Service Manual Online
For 1990-2009 cars only
Makes
🢒
Cadillac
🢒
1999
🢒
Seville
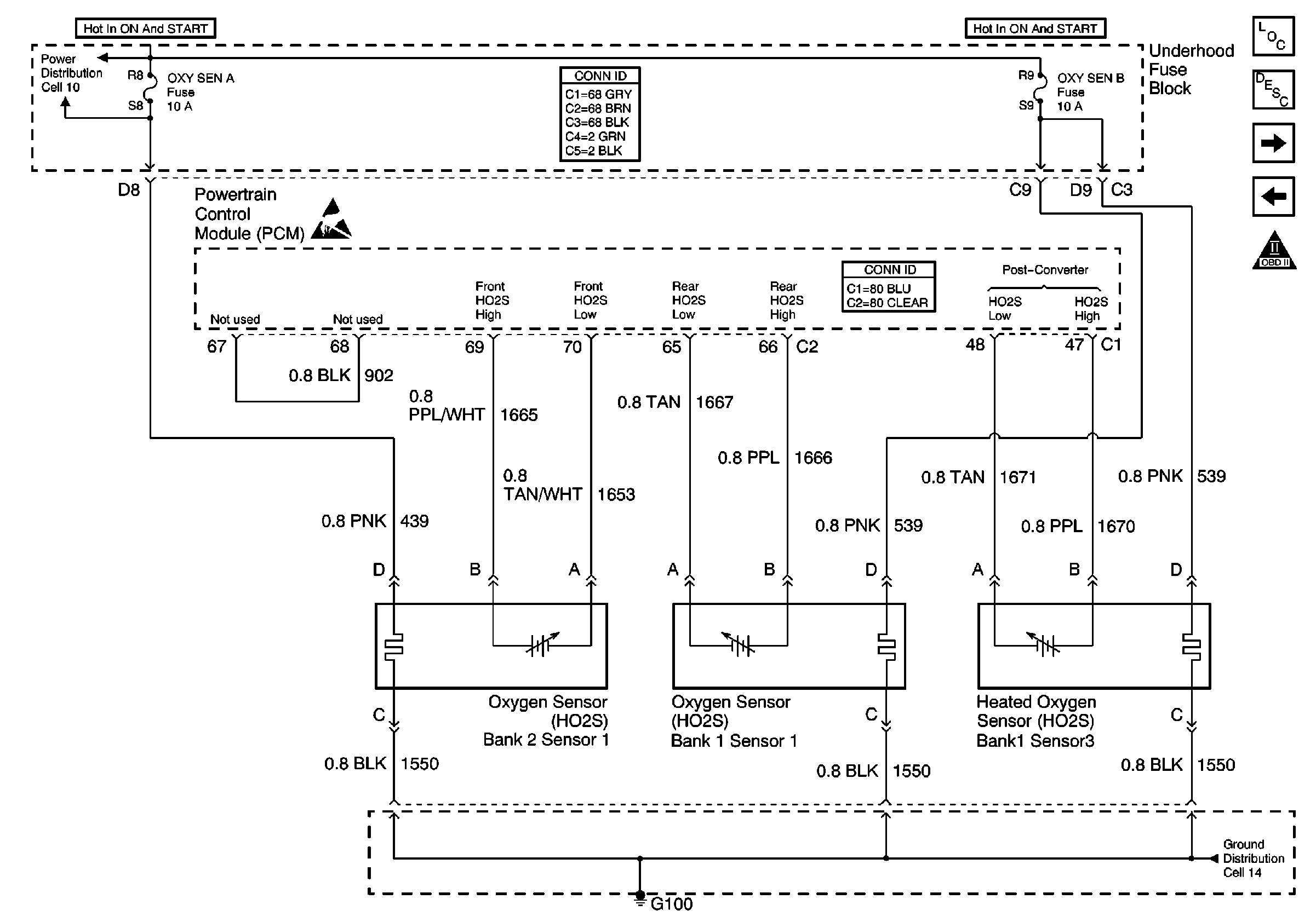
🢒 Cell 20: HO2S (Later Production)
Cell 20: HO2S (Later Production)
Cell 20: HO2S (Later Production)
Engine Controls Components
Information Sensors/Switches Description
Cell 20: EVAP and EGR Valve
Cell 20: Sensors
OBD II Symbol Description Notice
Cell 10: A/C CLU, FOG/DRL, INJR 1 and INJR 2 Fuses
Handling ESD Sensitive Parts Notice
Powertrain Control Module Connector End Views
Cell 14: G100
Power and Grounding Connector End Views