GM Service Manual Online
For 1990-2009 cars only
Makes
🢒
Cadillac
🢒
1999
🢒
Seville
🢒 Cell 51: DIM Ignition Inputs
Cell 51: DIM Ignition Inputs
Cell 51: DIM Ignition Inputs
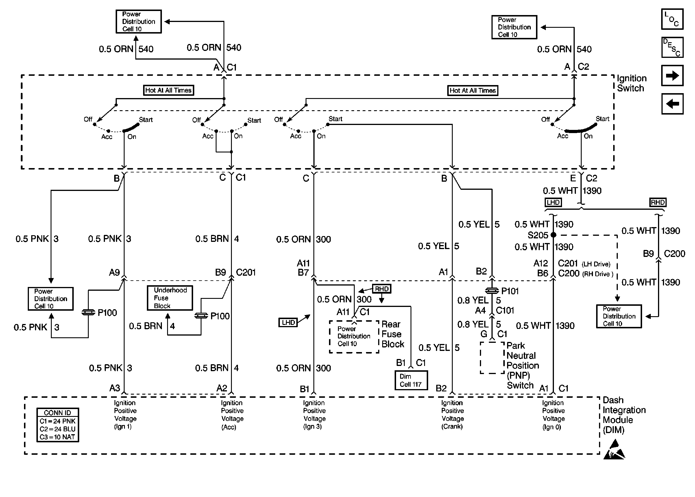
Cell 10: Ignition Switch
Cell 10: Ignition Switch
Body Control Module Components
Body Control System Circuit Description
Cell 51: DIM Inputs and Outputs (1 of 2)
Cell 51: DIM Power and Ground
Cell 10: Ignition Switch
Cell 10: IGN 3 Relay and HVAC, ABS Fuses
Cell 10: START Circuit Breaker and ACC, WSW Fuses
Cell 10: Ignition Switch