GM Service Manual Online
For 1990-2009 cars only
Makes
🢒
Cadillac
🢒
1999
🢒
Seville
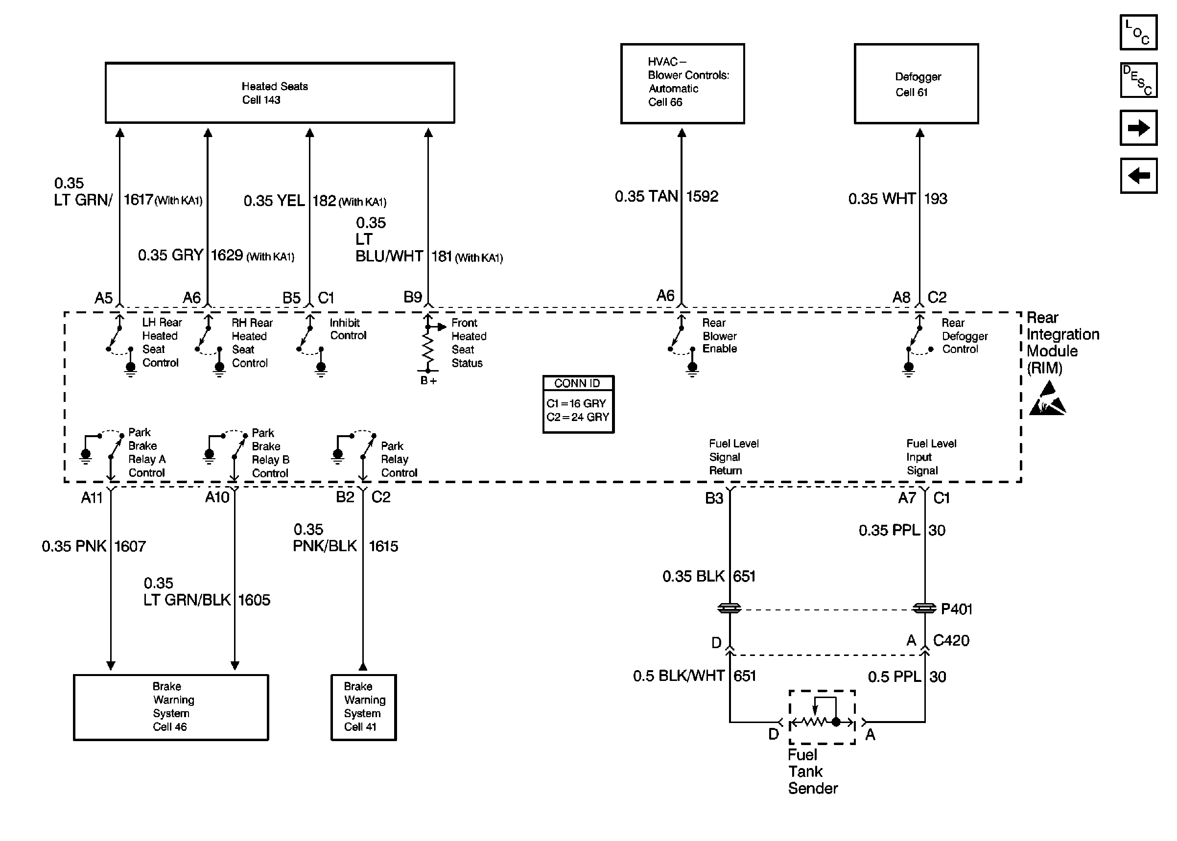
🢒 Cell 51: RIM Inputs and Outputs (2 of 2)
Cell 51: RIM Inputs and Outputs (2 of 2)
Cell 51: RIM Inputs and Outputs (2 of 2)
Body Control Module Components
Body Control System Circuit Description
Cell 51: RIM Inputs and Outputs (1 of 2)
Cell 61
Cell 66: Rear
Cell 143: LH Front Heated Seat
Park Brake System Schematics
Handling ESD Sensitive Parts Notice