GM Service Manual Online
For 1990-2009 cars only
Makes
🢒
Cadillac
🢒
1999
🢒
Seville
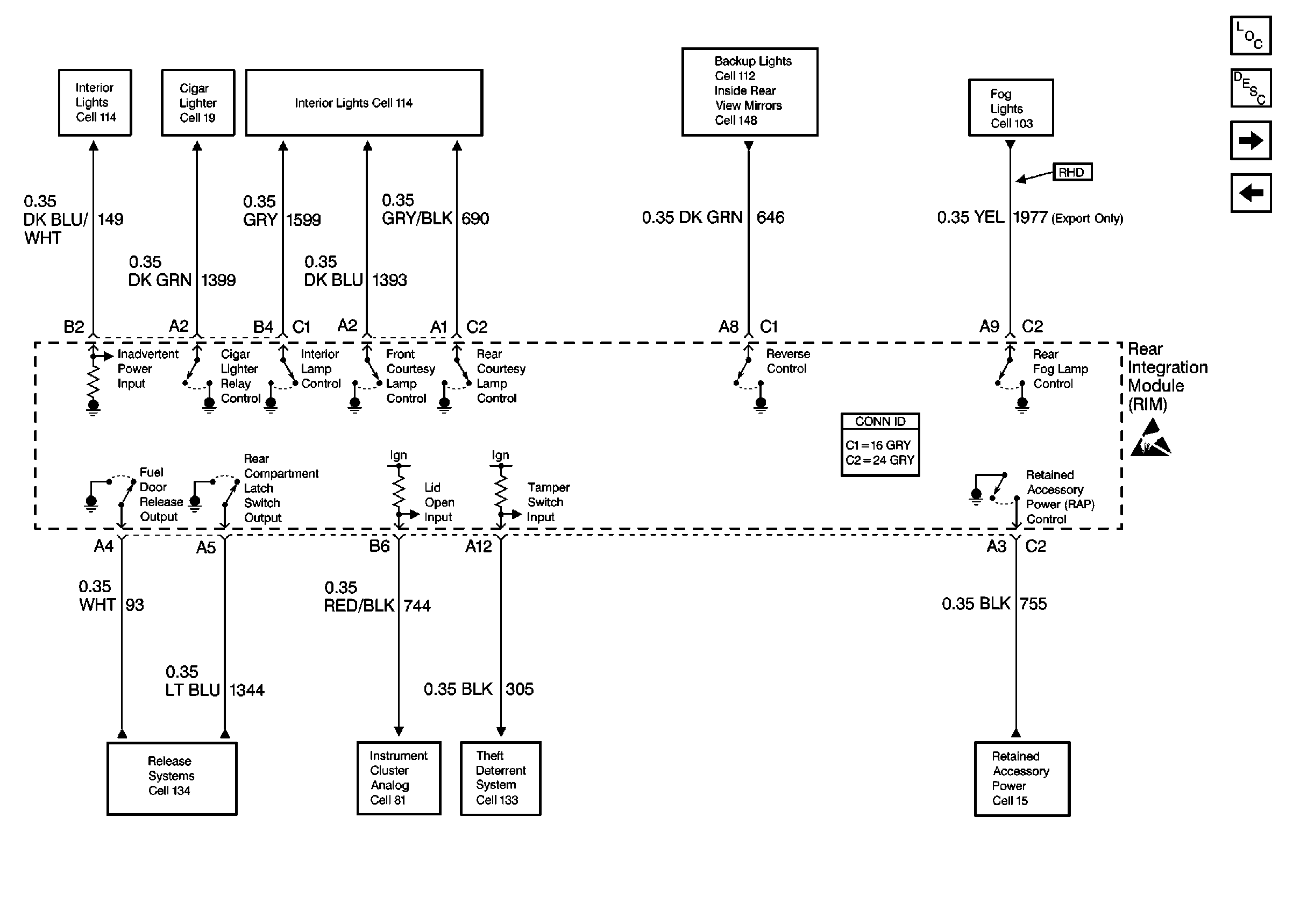
🢒 Cell 51: RIM Inputs and Outputs (1 of 2)
Cell 51: RIM Inputs and Outputs (1 of 2)
Cell 51: RIM Inputs and Outputs (1 of 2)
Interior Lights Schematics
Cigar Lighter/Power Outlet Schematics
Interior Lights Schematics
Cell 148: Inside Mirror
Fog Lights Schematics Front
Body Control Module Components
Body Control System Circuit Description
Cell 51: RIM Inputs and Outputs (2 of 2)
Cell 51: RIM Power and Ground
Retained Accessory Power (RAP) Schematics
Theft Deterrent System Schematics
Instrument Cluster: Analog Schematics
Release Systems Schematics
Handling ESD Sensitive Parts Notice