GM Service Manual Online
For 1990-2009 cars only
Makes
🢒
Cadillac
🢒
1999
🢒
Seville
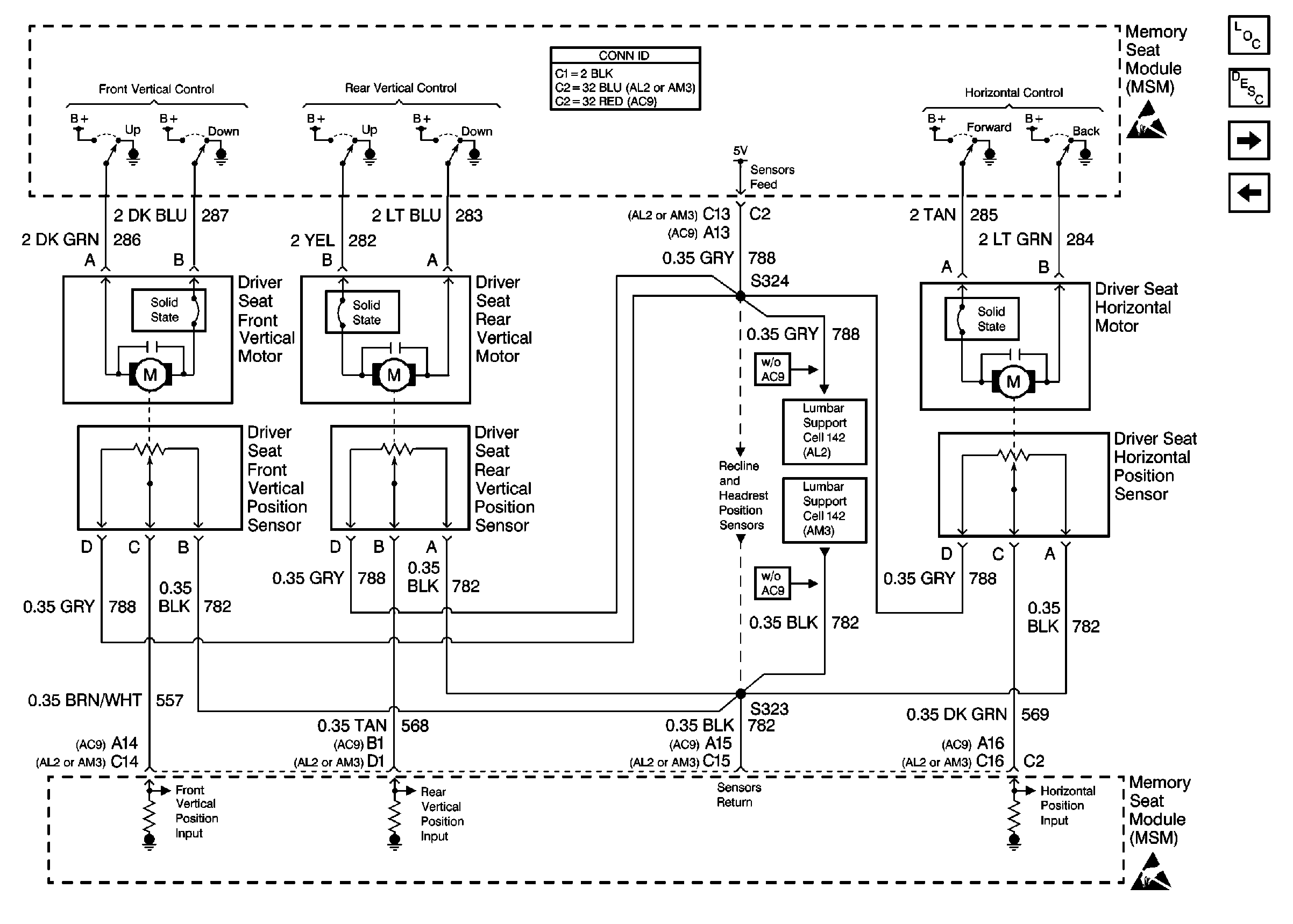
🢒 Cell 141: Front Height, Rear Height, Forward/Back Motors and PositiOn Sensors
Cell 141: Front Height, Rear Height, Forward/Back Motors and PositiOn Sensors
Cell 141: Front Height, Rear Height, Forward/Back Motors and Position Sensors
Power Seat Systems Components
Memory Seat Circuit Description
Cell 141: Recline, Headrest Motors and Position Sensors; Class 2
Cell 141: PWR, GND, LH Seat Switch, and MSM
Handling ESD Sensitive Parts Notice
Handling ESD Sensitive Parts Notice
Cell 142
Cell 142: Driver Lumbar Motors and Position Sensors
Cell 141: Recline, Headrest Motors and Position Sensors; Class 2
Power Seat Connector End Views