GM Service Manual Online
For 1990-2009 cars only
Makes
🢒
Cadillac
🢒
1999
🢒
Seville
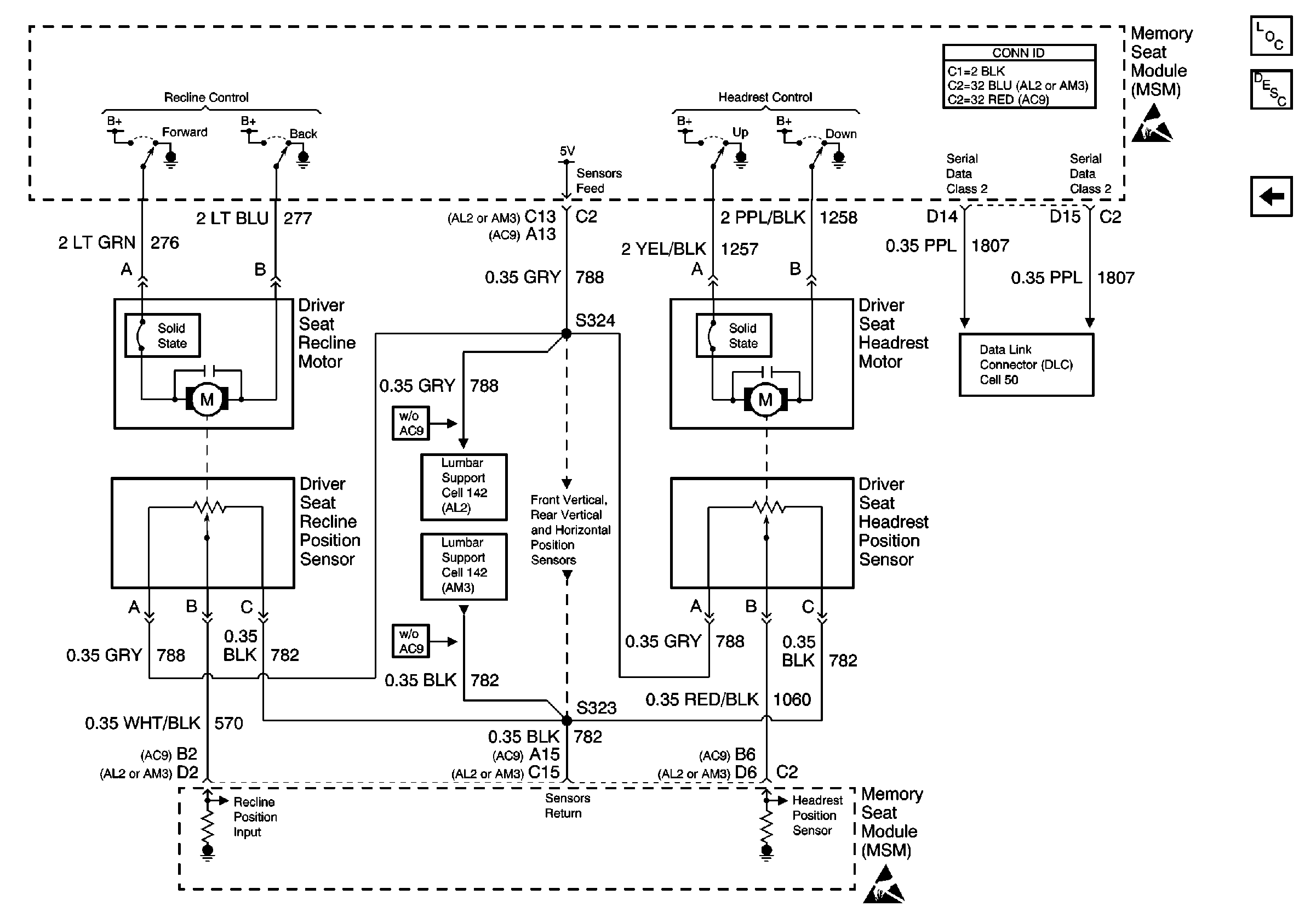
🢒 Cell 141: Recline, Headrest Motors and Position Sensors; Class 2
Cell 141: Recline, Headrest Motors and Position Sensors; Class 2
Cell 141: Recline, Headrest Motors and Position Sensors; Class 2
Power Seat Systems Components
Memory Seat Circuit Description
Cell 141: Front Height, Rear Height, Forward/Back Motors and PositiOn Sensors
Handling ESD Sensitive Parts Notice
Handling ESD Sensitive Parts Notice
Cell 50: Class 2 Serial Data Line (LH Drive)
Cell 142
Cell 142: Driver Lumbar Motors and Position Sensors
Cell 141: Front Height, Rear Height, Forward/Back Motors and PositiOn Sensors
Power Seat Connector End Views