GM Service Manual Online
For 1990-2009 cars only

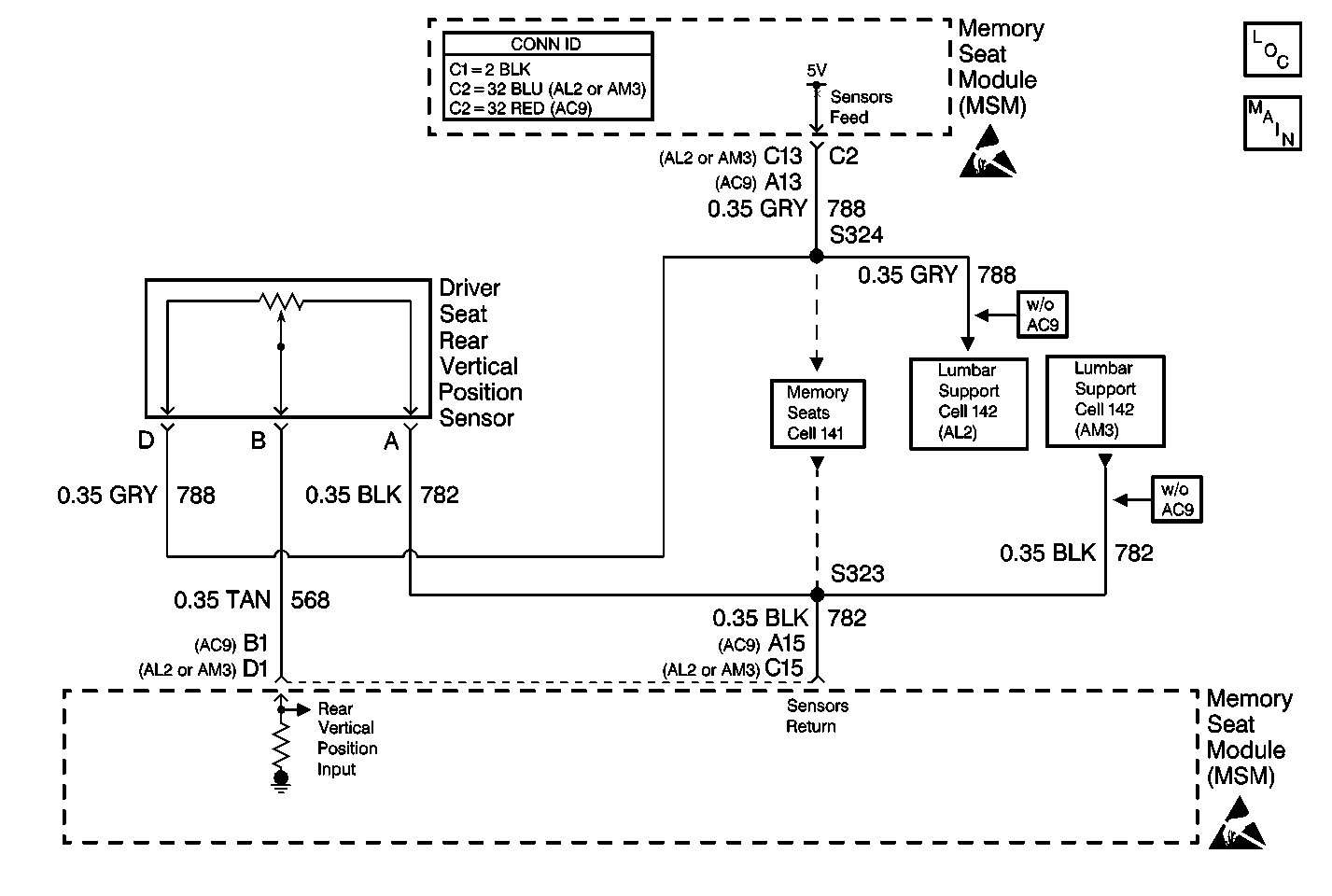
DTC B2365 Driver Rear Vertical Sensor Malf A45 with AL2


Object Number: 392832  Size: MF
Power Seat Systems Components
Cell 141: Recline, Headrest Motors and Position Sensors; Class 2
Handling ESD Sensitive Parts Notice
Handling ESD Sensitive Parts Notice
Power Seat Connector End Views
Cell 141: Recline, Headrest Motors and Position Sensors; Class 2
Cell 142
Cell 142: Driver Lumbar Motors and Position Sensors

Circuit Description

The memory seat module (MSM) receives inputs from the seat rear vertical position sensor during memory recall, memory set, and easy exit functions. The potentiometer in the position sensor varies in resistance as the motor tilts the rear of the seat. The MSM receives a variable voltage input depending on the resistance of the potentiometer. During memory set, the MSM records the voltage across the seat rear vertical potentiometer. During memory recall, the MSM moves the seat rear vertical motor until the voltage across the potentiometer matches the voltages stored in memory. For the easy exit function, the MSM moves the seat rear vertical motor until the voltage matches what the MSM has recorded in memory for the easy exit. During normal operation, the seat rear vertical position sensor is checked against out-of-range voltage limits.

Conditions for Setting the DTC

    • The MSM will set the DTC B2365 any time it detects that the seat rear vertical position sensor input voltage is out of range.

Specification
Normal sensor input voltage: 0.25-4.75 V

    • DTC B2365 will set only if DTC B1327 MSM or DTC B1328 MSM is not current.

Action Taken When the DTC Sets

When DTC B2365 is set as current, the memory seat module (MSM) will disable the seat rear vertical motor during memory recall or easy exit operations. The seat rear vertical motor will remain enabled for manual positioning.

Conditions for Clearing the DTC

    • The MSM detects that the seat rear vertical position sensor input is within the valid voltage range.
    • Use the On-Boards clearing DTCs feature.
    • Use a scan tool.

Test Description

The numbers below refer to the step numbers on the diagnostic table:

  1. Perform the Power Seat Systems Diagnostic System Check before continuing with the diagnosis of this DTC.

  2. Multiple position sensor DTCs set indicates a concern with the reference wiring or memory seat module (MSM). Only one position sensor DTC set indicates a concern with the position sensor and wiring.

  3. Clear all DTCs after the repair procedure is complete.

Step

Action

Value(s)

Yes

No

1

Was the entire Power Seat Systems Diagnostic System Check performed?

--

Go to Step 2

Go to Diagnostic System Check - Power Seat Systems

2

Were there any other position sensor DTCs set?

--

Go to Step 3

Go to Step 9

3

  1. Disconnect the seat rear vertical position sensor connector.
  2. Important:: When reconnecting the position sensor connector, be sure that the connector is connected in the proper direction. It is possible to reverse the connector and cause improper memory operation.

  3. Connect a DMM from the seat rear vertical position sensor cavity D (GRY) to cavity A (BLK).

Is the resistance within the specified range?

9000 ohms - 11,000 ohms

Go to Step 4

Go to Step 12

4

Connect a DMM from the seat rear vertical position sensor cavity B (TAN) to cavity A (BLK).

Is the resistance within the specified range?

500 ohms - 9500 ohms

Go to Step 5

Go to Step 12

5

  1. Disconnect the memory seat module (MSM) connector C2.
  2. Connect a DMM from the seat rear vertical position sensor connector cavity D (GRY) to the MSM connector C2 cavity C13 (GRY).

Is the resistance less than the specified value?

5 ohms

Go to Step 6

Go to Step 13

6

Connect a DMM from the seat rear vertical position sensor connector cavity A (BLK) to the MSM connector C2 cavity C15 (BLK).

Is the resistance less than the specified value?

5 ohms

Go to Step 7

Go to Step 14

7

Connect a DMM from the seat rear vertical position sensor connector cavity B (TAN) to ground.

Is the resistance less than the specified value?

5 ohms

Go to Step 15

Go to Step 8

8

Connect a DMM from the seat rear vertical position sensor connector cavity B (TAN) to the MSM connector C2 cavity D1 (TAN).

Is the resistance less than the specified value?

5 ohms

Go to Step 20

Go to Step 16

9

  1. Disconnect the seat rear vertical position sensor connector.
  2. Disconnect the memory seat module (MSM) connector C2.
  3. Connect a DMM from the MSM connector C2 cavity C13 (GRY) to ground.

Is the resistance less than the specified value?

5 ohms

Go to Step 17

Go to Step 10

10

Connect a DMM from the seat rear vertical position sensor connector cavity A (BLK) to the MSM connector C2 cavity C13 (GRY).

Is the resistance less than the specified value?

5 ohms

Go to Step 11

Go to Step 18

11

Connect a DMM from the seat rear vertical position sensor connector cavity C (BLK) to the MSM connector C2 cavity C15 (BLK).

Is the resistance less than the specified value?

5 ohms

Go to Step 20

Go to Step 19

12

Replace the seat rear vertical position sensor. Refer to Seat Horizontal and Vertical Drive Cable Replacement .

Is the seat rear vertical position sensor replacement complete?

--

Go to Step 21

--

13

Repair the open in CKT 788 (GRY) between the S324 and the seat rear vertical position sensor. Refer to Wiring Repairs in Wiring Systems.

Is the circuit repair complete?

--

Go to Step 21

--

14

Repair the open in CKT 782 (BLK) between S323 and the seat rear vertical position sensor. Refer to Wiring Repairs in Wiring Systems.

Is the circuit repair complete?

--

Go to Step 21

--

15

Repair the short in CKT 568 (TAN). Refer to Wiring Repairs in Wiring Systems.

Is the circuit repair complete?

--

Go to Step 21

--

16

Repair the open in CKT 568 (TAN) between the MSM and the seat rear vertical position sensor. Refer to Wiring Repairs in Wiring Systems.

Is the circuit repair complete?

--

Go to Step 21

--

17

Repair the short in CKT 788 (GRY). Refer to Wiring Repairs in Wiring Systems.

Is the circuit repair complete?

--

Go to Step 21

--

18

Repair the open in CKT 788 (GRY) between the MSM and S324. Refer to Wiring Repairs in Wiring Systems.

Is the circuit repair complete?

--

Go to Step 21

--

19

Repair the open in CKT 782 (BLK) between the MSM and the S323. Refer to Wiring Repairs in Wiring Systems.

Is the circuit repair complete?

--

Go to Step 21

--

20

Replace the memory seat module (MSM). Refer to Memory Seat Control Module Replacement .

Is the MSM replacement complete?

--

Go to Step 21

--

21

  1. Turn the ignition switch to the OFF position.
  2. Reconnect or install any connectors or components that were disconnected or removed.
  3. Turn the ignition switch to the ON position.
  4. Clear any DTCs. Refer to Diagnostic Trouble Code (DTC) Clearing .

Are all DTCs cleared?

--

Go to Diagnostic System Check - Power Seat Systems

--

DTC B2365 Driver Rear Vertical Sensor Malf A45 with AC9


Object Number: 392832  Size: MF
Power Seat Systems Components
Cell 141: Recline, Headrest Motors and Position Sensors; Class 2
Handling ESD Sensitive Parts Notice
Handling ESD Sensitive Parts Notice
Power Seat Connector End Views
Cell 141: Recline, Headrest Motors and Position Sensors; Class 2
Cell 142
Cell 142: Driver Lumbar Motors and Position Sensors

Circuit Description

The memory seat module (MSM) receives inputs from the seat rear vertical position sensor during memory recall, memory set, and easy exit functions. The potentiometer in the position sensor varies in resistance as the motor tilts the rear of the seat. The MSM receives a variable voltage input depending on the resistance of the potentiometer. During memory set, the MSM records the voltage across the seat rear vertical potentiometer. During memory recall, the MSM moves the seat rear vertical motor until the voltage across the potentiometer matches the voltages stored in memory. For the easy exit function, the MSM moves the seat rear vertical motor until the voltage matches what the MSM has recorded in memory for the easy exit. During normal operation, the seat rear vertical position sensor is checked against out-of-range voltage limits.

Conditions for Setting the DTC

    • The MSM will set the DTC B2365 any time it detects that the seat rear vertical position sensor input voltage is out of range.

Specification
Normal sensor input voltage: 0.25-4.75 V

    • DTC B2365 will set only if DTC B1327 MSM or DTC B1328 MSM is not current.

Action Taken When the DTC Sets

When DTC B2365 is set as current, the memory seat module (MSM) will disable the seat rear vertical motor during memory recall or easy exit operations. The seat rear vertical motor will remain enabled for manual positioning.

Conditions for Clearing the DTC

    • The MSM detects that the seat rear vertical position sensor input is within the valid voltage range.
    • Use the On-Boards clearing DTCs feature.
    • Use a scan tool.

Test Description

The numbers below refer to the step numbers on the diagnostic table:

  1. Perform the Power Seat Systems Diagnostic System Check before continuing with the diagnosis of this DTC.

  2. Multiple position sensor DTCs set indicates a concern with the reference wiring or memory seat module (MSM). Only one position sensor DTC set indicates a concern with the position sensor and wiring.

  3. Clear all DTCs after the repair procedure is complete.

Step

Action

Value(s)

Yes

No

1

Was the entire Power Seat Systems Diagnostic System Check performed?

--

Go to Step 2

Go to Diagnostic System Check - Power Seat Systems

2

Were there any other position sensor DTCs set?

--

Go to Step 3

Go to Step 9

3

  1. Disconnect the seat rear vertical position sensor connector.
  2. Important:: When reconnecting the position sensor connector, be sure that the connector is connected in the proper direction. It is possible to reverse the connector and cause improper memory operation.

  3. Connect a DMM from the seat rear vertical position sensor cavity D (GRY) to cavity A (BLK).

Is the resistance within the specified range?

9000 ohms - 11,000 ohms

Go to Step 4

Go to Step 12

4

Connect a DMM from the seat rear vertical position sensor cavity B (TAN) to cavity A (BLK).

Is the resistance within the specified range?

500 ohms - 9500 ohms

Go to Step 5

Go to Step 12

5

  1. Disconnect the memory seat module (MSM) connector C2.
  2. Connect a DMM from the seat rear vertical position sensor connector cavity D (GRY) to the MSM connector C2 cavity A13 (GRY).

Is the resistance less than the specified value?

5 ohms

Go to Step 6

Go to Step 13

6

Connect a DMM from the seat rear vertical position sensor connector cavity A (BLK) to the MSM connector C2 cavity A15 (BLK).

Is the resistance less than the specified value?

5 ohms

Go to Step 7

Go to Step 14

7

Connect a DMM from the seat rear vertical position sensor connector cavity B (TAN) to ground.

Is the resistance less than the specified value?

5 ohms

Go to Step 15

Go to Step 8

8

Connect a DMM from the seat rear vertical position sensor connector cavity B (TAN) to the MSM connector C2 cavity B1 (TAN).

Is the resistance less than the specified value?

5 ohms

Go to Step 20

Go to Step 16

9

  1. Disconnect the seat rear vertical position sensor connector.
  2. Disconnect the memory seat module (MSM) connector C2.
  3. Connect a DMM from the MSM connector C2 cavity A13 (GRY) to ground.

Is the resistance less than the specified value?

5 ohms

Go to Step 17

Go to Step 10

10

Connect a DMM from the seat rear vertical position sensor connector cavity D (GRY) to the MSM connector C2 cavity A13 (GRY).

Is the resistance less than the specified value?

5 ohms

Go to Step 11

Go to Step 18

11

Connect a DMM from the seat rear vertical position sensor connector cavity A (BLK) to the MSM connector C2 cavity A15 (BLK).

Is the resistance less than the specified value?

5 ohms

Go to Step 20

Go to Step 19

12

Replace the seat rear vertical position sensor. Refer to Seat Horizontal and Vertical Drive Cable Replacement .

Is the seat rear vertical position sensor replacement complete?

--

Go to Step 21

--

13

Repair the open in CKT 788 (GRY) between the S324 and the seat rear vertical position sensor. Refer to Wiring Repairs in Wiring Systems.

Is the circuit repair complete?

--

Go to Step 21

--

14

Repair the open in CKT 782 (BLK) between S323 and the seat rear vertical position sensor. Refer to Wiring Repairs in Wiring Systems.

Is the circuit repair complete?

--

Go to Step 21

--

15

Repair the short in CKT 568 (TAN). Refer to Wiring Repairs in Wiring Systems.

Is the circuit repair complete?

--

Go to Step 21

--

16

Repair the open in CKT 568 (TAN) between the MSM and the seat rear vertical position sensor. Refer to Wiring Repairs in Wiring Systems.

Is the circuit repair complete?

--

Go to Step 21

--

17

Repair the short in CKT 788 (GRY). Refer to Wiring Repairs in Wiring Systems.

Is the circuit repair complete?

--

Go to Step 21

--

18

Repair the open in CKT 788 (GRY) between the MSM and S324. Refer to Wiring Repairs in Wiring Systems.

Is the circuit repair complete?

--

Go to Step 21

--

19

Repair the open in CKT 782 (BLK) between the MSM and the S323. Refer to Wiring Repairs in Wiring Systems.

Is the circuit repair complete?

--

Go to Step 21

--

20

Replace the memory seat module (MSM). Refer to Memory Seat Control Module Replacement .

Is the MSM replacement complete?

--

Go to Step 21

--

21

  1. Turn the ignition switch to the OFF position.
  2. Reconnect or install any connectors or components that were disconnected or removed.
  3. Turn the ignition switch to the ON position.
  4. Clear any DTCs. Refer to Diagnostic Trouble Code (DTC) Clearing .

Are all DTCs cleared?

--

Go to Diagnostic System Check - Power Seat Systems

--