GM Service Manual Online
For 1990-2009 cars only
Makes
🢒
Cadillac
🢒
2000
🢒
Seville
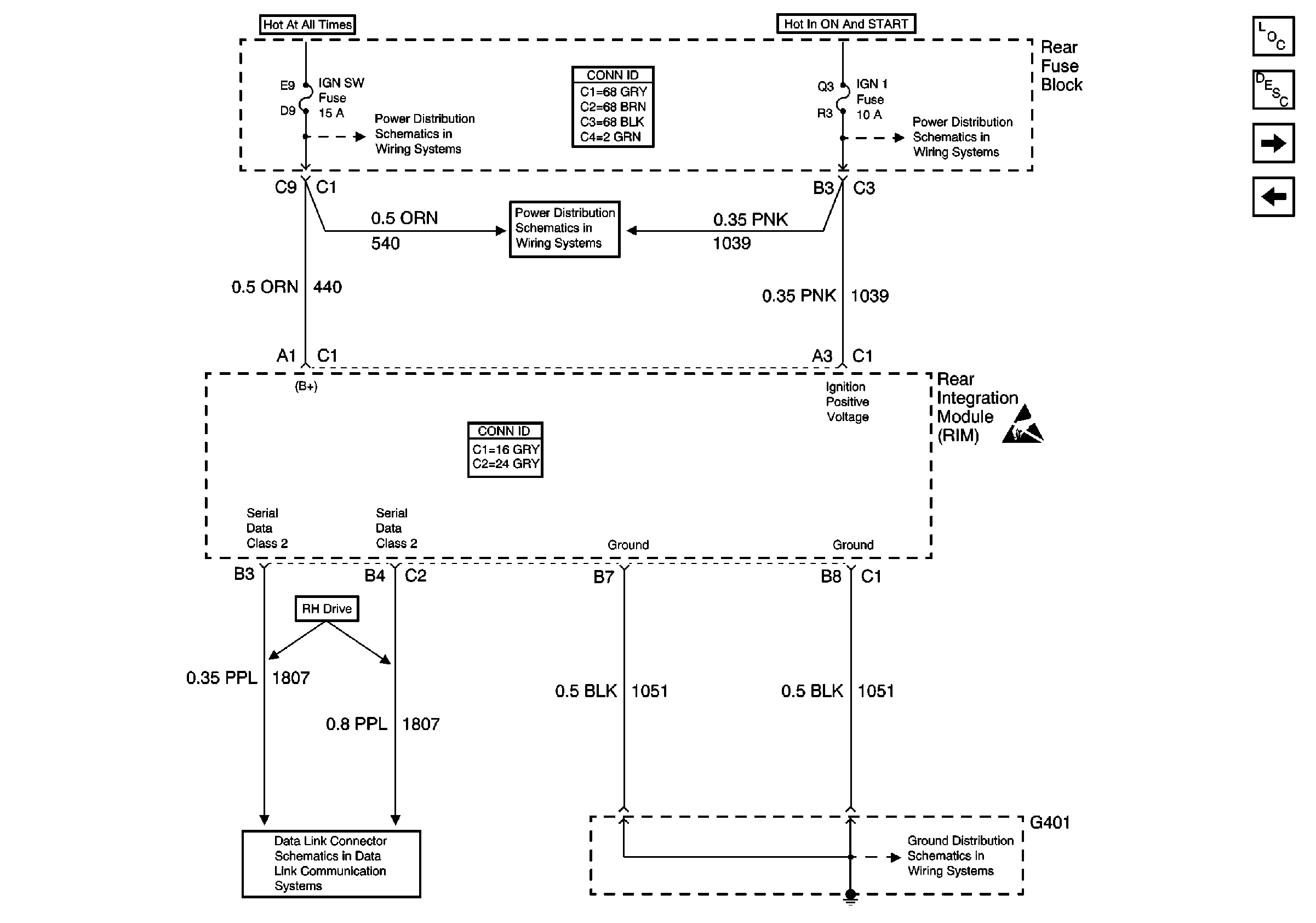
🢒 RIM Power and Ground
RIM Power and Ground
RIM Power and Ground
Body Control Module Components
Body Control System Circuit Description
RIM Inputs and Outputs 1 of 2
IPM Inputs and Outputs 2 of 2
IGN 1 Relay and SIR, Vent SOL, IGN 1 Fuses
IGN SW, HTDST LR, HTDST RR, and HTDST RF Fuses
Class 2 Serial Data Line (RH Drive)
Handling ESD Sensitive Parts Notice
IGN SW, HTDST LR, HTDST RR, and HTDST RF Fuses
G401 1 of 3