GM Service Manual Online
For 1990-2009 cars only
Makes
🢒
Cadillac
🢒
2000
🢒
Seville
🢒 LFDM Inputs and Outputs
LFDM Inputs and Outputs
LFDM Inputs and Outputs
Power Door Systems Components
Automatic Door Lock System Description
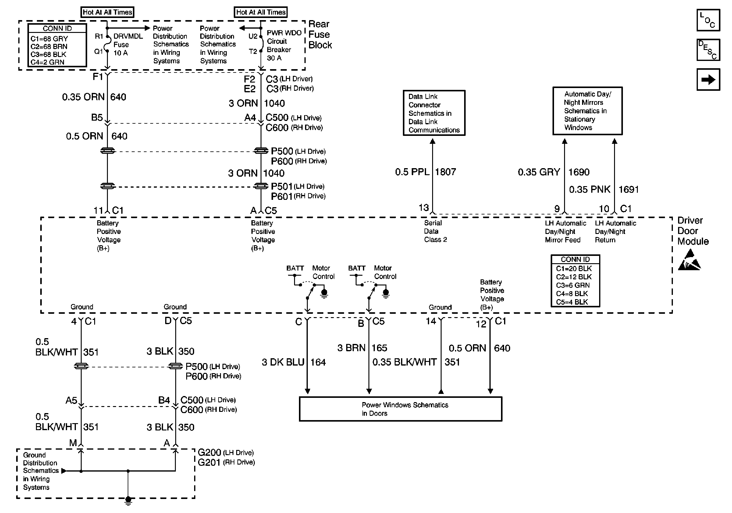
DDM Power, Ground, Inputs, and Outputs
Handling ESD Sensitive Parts Notice
LH Power Windows
Class 2 Serial Data Line (LH Drive)
PWR WDO Circuit Breaker
DRV MDL, PASS MDL, RRDR MDL and DLC Fuses
LH Outside Mirror
G200 1 of 2