GM Service Manual Online
For 1990-2009 cars only
Makes
🢒
Cadillac
🢒
2000
🢒
Seville
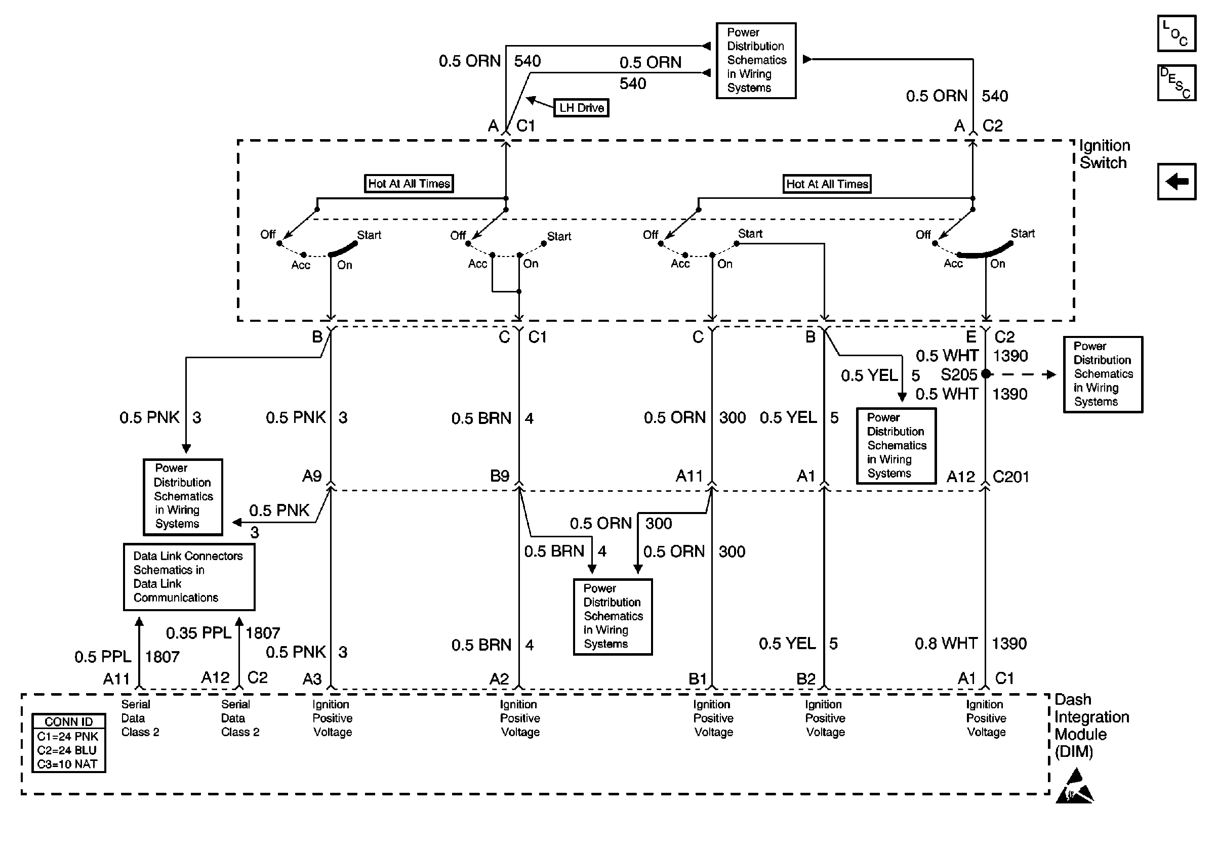
🢒 DIM Inputs
DIM Inputs
DIM Inputs
Retained Accessory Power (RAP) Components
Retained Accessory Power (RAP) Circuit Description
Class 2 Serial Data Line (LH Drive)
Ignition Switch
Ignition Switch
Ignition Switch
Ignition Switch
Ignition Switch
Power and Components