GM Service Manual Online
For 1990-2009 cars only
Makes
🢒
Cadillac
🢒
2000
🢒
Seville
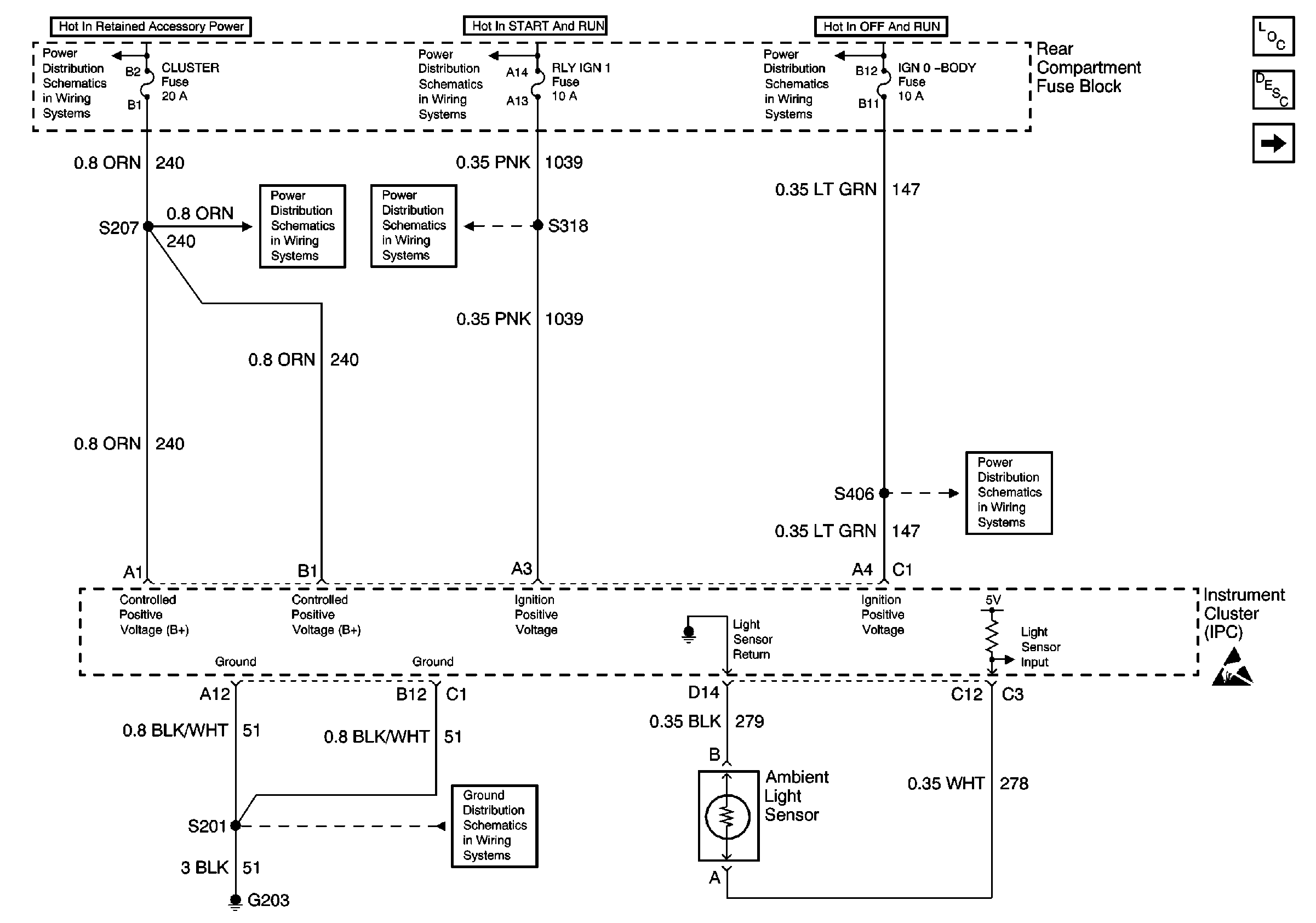
🢒 PWR, GND, and Ambient Light Sensor
PWR, GND, and Ambient Light Sensor
PWR, GND, and Ambient Light Sensor
Lighting Systems Components
Interior Lights Dimming Circuit Description
Headlamp Switch
BODY 3 and INADVERT Fuses
LAMPS and IGN 1 Fuses
BATT 3 Fuse and Ignition Switch (1 of 2)
WIPERS, ACC, and CLUSTER Fuses
RLY IGN 1 Fuse
G203
IGN 0 BODY Fuse
Handling ESD Sensitive Parts Notice