GM Service Manual Online
For 1990-2009 cars only
Makes
🢒
Cadillac
🢒
2000
🢒
Seville
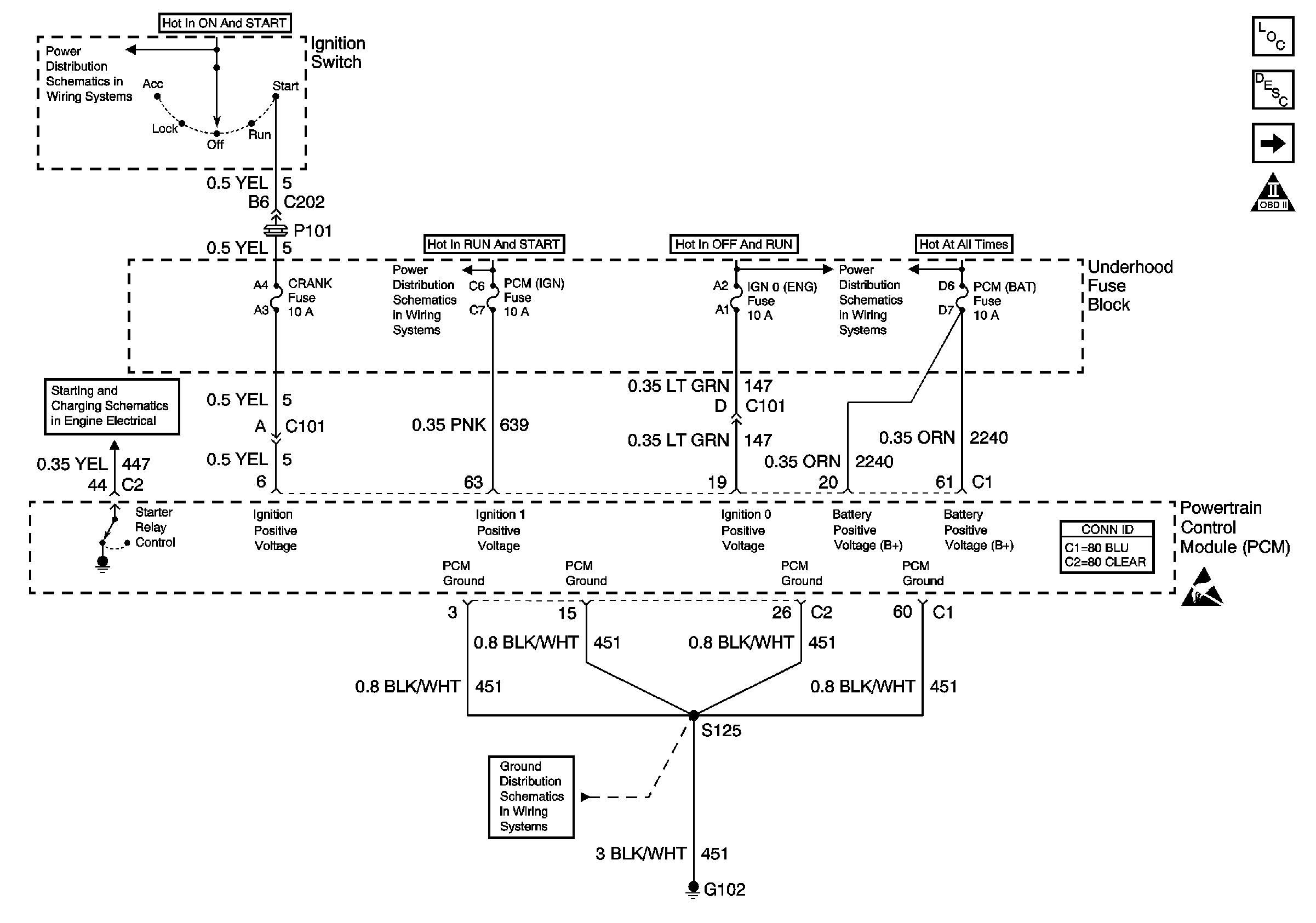
🢒 PCM Power and Grounds
PCM Power and Grounds
PCM Power and Grounds
Engine Controls Components
Information Sensors/Switches Description
MIL Control and DLC
OBD II Symbol Description Notice
Handling ESD Sensitive Parts Notice
PCM (BAT), A/C COMP, PARK/REV Fuses and A/C COMPRESSOR Relay
CRUISE, DIS, and PCM (IGN) Fuses
BATT 2 Fuse and Ignition Switch (2 of 2)
G102