GM Service Manual Online
For 1990-2009 cars only
Makes
🢒
Cadillac
🢒
2000
🢒
Seville
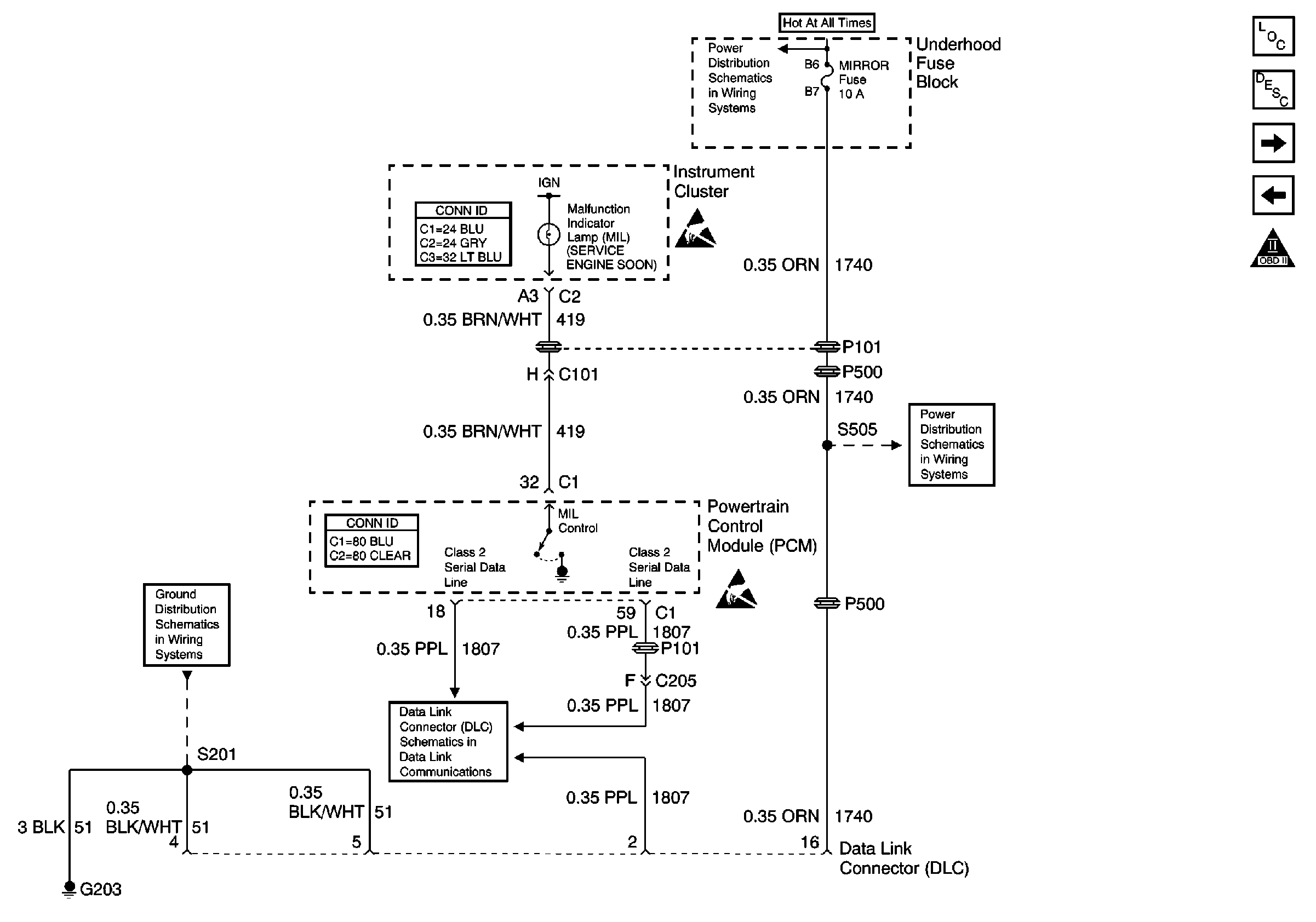
🢒 MIL Control and DLC
MIL Control and DLC
MIL Control and DLC
Engine Controls Components
Information Sensors/Switches Description
Ignition Control Module - Front Bank
PCM Power and Grounds
OBD II Symbol Description Notice
MIRROR, DRL, and FOG Fuses
Handling ESD Sensitive Parts Notice
MIRROR, DRL, and FOG Fuses
G203
Handling ESD Sensitive Parts Notice
Power, Ground, and Class 2 (1 of 2)