GM Service Manual Online
For 1990-2009 cars only
Makes
🢒
Cadillac
🢒
2000
🢒
Seville
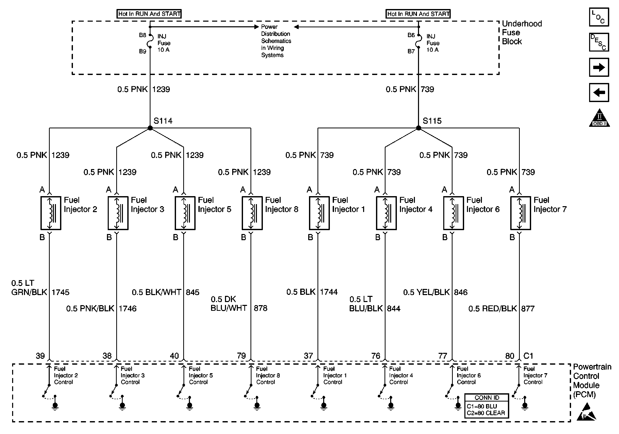
🢒 Fuel Injectors
Fuel Injectors
Fuel Injectors
Engine Controls Components
Information Sensors/Switches Description
Engine and Fuel Tank Sensors
Fuel Pump and Relay
OBD II Symbol Description Notice
INJ Fuses
Handling ESD Sensitive Parts Notice