GM Service Manual Online
For 1990-2009 cars only
Makes
🢒
Cadillac
🢒
2000
🢒
Seville
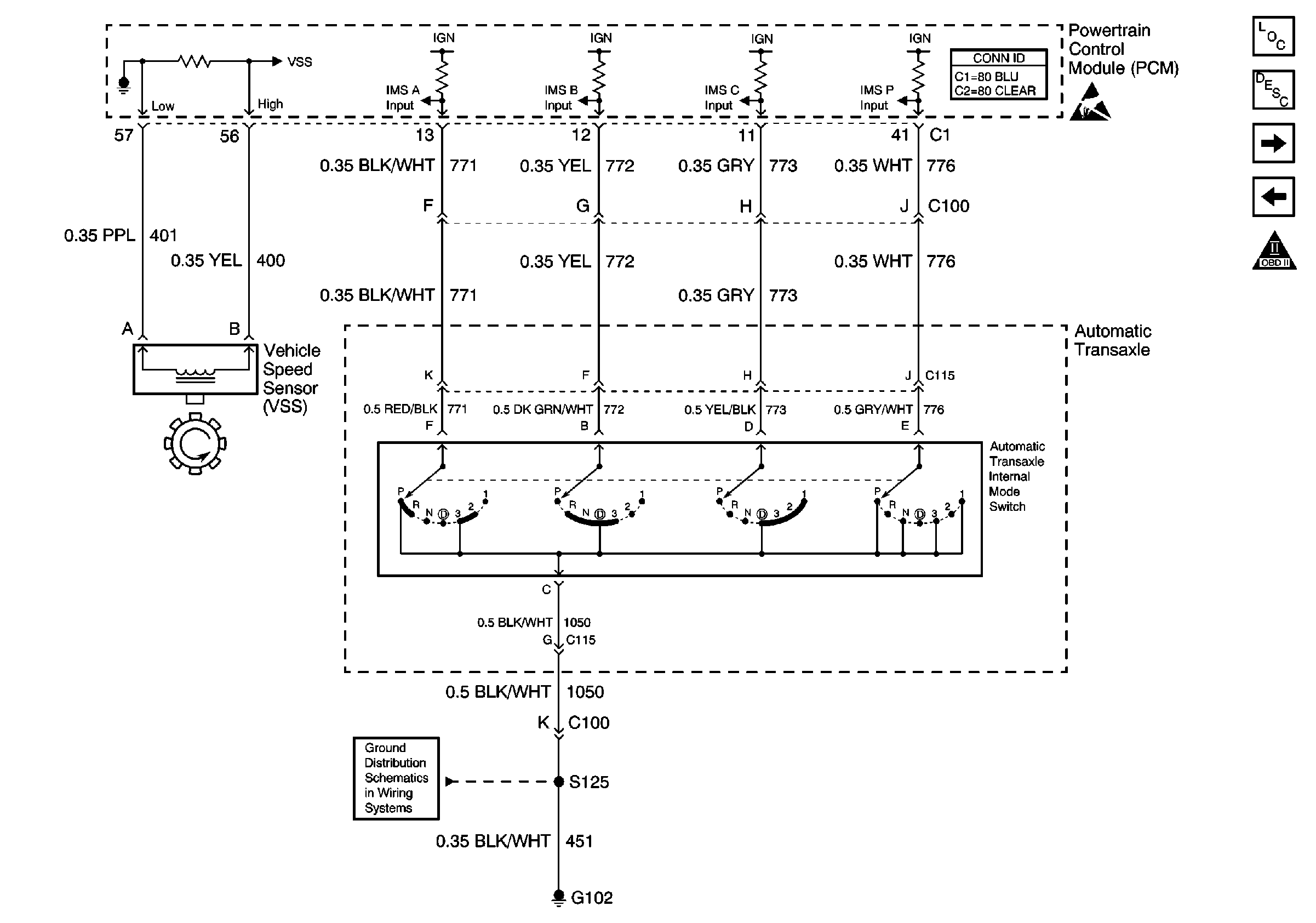
🢒 Transaxle - IMS, VSS
Transaxle - IMS, VSS
Transaxle -- IMS, VSS
Engine Controls Components
Information Sensors/Switches Description
Cooling Fans and Relays
Transaxle Sensors and TR Switch
OBD II Symbol Description Notice
Handling ESD Sensitive Parts Notice
G102